Accueil
Accueil
- Pièce d'origine
- TM Racing 2025
- 2T-MX-85-JUNIOR 2025
- GUIDON
- FREIN AV
- FOURCHE
- KIT DEPART
- ROUE AV 19'
- ROUE AV 17'
- RADIATEURS
- RESERVOIR
- CHASSIS
- PLASTIQUES
- BRAS OSCILLANT
- FILTRE A AIR
- BIELLETTES
- ROUE ARRIERE 16'
- FREIN ARRIERE
- KIT DECO
- ECHAPPEMENT
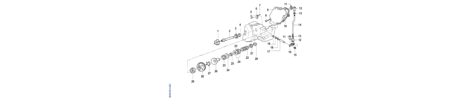
- CYLINDRE
- EMBIELLAGE 20MM
- ALLUMAGE
- CARTER EMB. POMPE EAU
- EMBRAYAGE
- CARTER MOTEUR
- KICK
- SELECTION
- BOITE A VITESSE
- VIS COUVERCLE MOTEUR
- VIS CARTER MOTEUR
- AMORTISSEUR
- CARBURATEUR
- 2T-MX-125-ES 2025
- GUIDON
- BRAS OSCILLANT
- FREIN AVANT
- FOURCHE
- ROUE AVANT
- RADIATEUR
- RESERVOIR
- CADRE
- PLASTIQUES
- BOITE A AIR
- BIELLETTE
- ROUE ARRIERE
- FREIN ARRIERE
- ECHAPPEMENT
- CARBURATEUR
- CABLAGE
- KIT ADHESIF
- CYLINDRE
- VALVE D'ECHAPPEMENT
- PISTON
- ALLUMAGE
- EMBRAYAGE
- CARTER EMBRAYAGE
- BAS MOTEUR
- AMORTISSEUR
- SELECTION
- BOITE VITESSE
- VIS CARTER MOTEUR
- GRAPHIQUES 2T PINK
- KIT ADESIVI 2T RED DREAM
- RED DREAM 2T MX
- 2T-MX-144 2025
- GUIDON
- FREIN AVANT
- FOURCHE
- ROUE AVANT
- RADIATEUR
- RESERVOIR
- CADRE
- PLASTIQUES
- BOITE A AIR
- BRAS OSCILLANT
- BIELLETTE
- ROUE ARRIERE
- FREIN ARRIERE
- ECHAPPEMENT
- CABLAGE ET COMPOSANTS
- CYLINDRE
- VALVE D'ECHAPPEMENT
- VILEBREQUIN ET PISTON
- ALLUMAGE
- BAS MOTEUR
- SELECTION ET KICK
- EMBRAYAGE
- BOITE 6 VITESSES
- CARTER EMBRAYAGE
- VIS CARTER EMBRAYAGE
- VIS CARTER MOTEUR
- AMORTISSEUR
- CARBURATEUR
- KIT ADHESIF
- GRAPHIQUES 2T PINK
- KIT ADESIVI 2T RED DREAM
- RED DREAM 2T MX
- 2T-MX-250-ES 2025
- GUIDON
- FREIN AVANT
- FOURCHE
- ROUE AVANT
- KIT VENTILATEUR
- RADIATEUR
- RESERVOIR
- CADRE
- PLASTIQUE
- BOITE A AIR
- BRAS OSCILLANT
- BIELLETTE
- FREIN ARRIERE
- ECHAPPEMENT
- CABLAGE ET COMPOSANTS
- KIT ADHESIF
- CYLINDRE
- VALVE D'ECHAPPEMENT
- PISTON
- CARTER EMBRAYAGE
- EMBRAYAGE
- BAS MOTEUR
- FOURCHETTE BOITE 5
- BOITE VITESSE 5 MX
- KICK
- ALLUMAGE
- AMORTISSEUR
- CARBURATEUR
- ROUE ARRIERE
- GRAPHIQUES 2T PINK
- KIT ADESIVI 2T RED DREAM
- RED DREAM 2T MX
- 2T-MX-250-FI-ES 2025
- GUIDON
- FREIN AVANT
- FOURCHE
- ROUE AVANT
- RADIATEUR
- RESERVOIR
- CADRE
- PLASTIQUE
- BOITE A AIR
- BRAS OSCILLANT
- BIELLETTE
- FREIN ARRIERE
- ECHAPPEMENT
- CABLAGE ET COMPOSANTS
- KIT ADHESIF
- CYLINDRE
- VALVE D'ECHAPPEMENT
- PISTON
- CARTER EMBRAYAGE
- EMBRAYAGE
- BAS MOTEUR
- FOURCHETTE BOITE 5
- BOITE VITESSE 5 MX
- ALLUMAGE
- AMORTISSEUR
- CORP D'INJECTION
- ROUE ARRIERE
- GRAPHIQUES 2T PINK
- KIT ADESIVI 2T RED DREAM
- RED DREAM 2T MX
- 2T-MX-300-ES 2025
- GUIDON
- FREIN AVANT
- FOURCHE
- ROUE AVANT
- KIT VENTILATEUR
- RADIATEUR
- RESERVOIR
- CADRE
- PLASTIQUE
- BOITE A AIR
- BRAS OSCILLANT
- BIELLETTE
- FREIN ARRIERE
- ECHAPPEMENT
- CABLAGE ET COMPOSANTS
- KIT ADHESIF
- CYLINDRE
- VALVE D'ECHAPPEMENT
- PISTON
- CARTER EMBRAYAGE
- EMBRAYAGE
- BAS MOTEUR
- FOURCHETTE BOITE 5
- BOITE VITESSE 5 MX
- ALLUMAGE
- AMORTISSEUR
- CARBURATEUR
- ROUE ARRIERE
- CENTRIFUGEUSE DE DEMARRAGE
- GRAPHIQUES 2T PINK
- KIT ADESIVI 2T RED DREAM
- RED DREAM 2T MX
- 2T-MX-300-FI-ES 2025
- GUIDON
- FREIN AVANT
- FOURCHE
- ROUE AVANT
- RADIATEUR
- RESERVOIR
- CADRE
- PLASTIQUE
- BOITE A AIR
- BRAS OSCILLANT
- BIELLETTE
- FREIN ARRIERE
- ECHAPPEMENT
- CABLAGE ET COMPOSANTS
- KIT ADHESIF
- CYLINDRE
- VALVE D'ECHAPPEMENT
- PISTON
- CARTER EMBRAYAGE
- EMBRAYAGE
- BAS MOTEUR
- FOURCHETTE BOITE 5
- BOITE VITESSE 5 MX
- ALLUMAGE
- AMORTISSEUR
- CORP D'INJECTION
- ROUE ARRIERE
- GRAPHIQUES 2T PINK
- KIT ADESIVI 2T RED DREAM
- RED DREAM 2T MX
- 4T-MX-250-FI-ES 2025
- GUIDON
- FREIN AVANT
- FOURCHE
- ROUE AVANT
- VENTILATEUR
- RADIATEUR
- BOITE A AIR
- CADRE
- PLASTIQUES ET SELLE
- RESERVOIR
- BRAS OSCILLANT
- BIELLETTE
- ROUE ARRIERE
- FREIN ARRIERE
- ECHAPPEMENT
- CABLAGE ET COMPOSANTS
- KIT ADHESIF
- CYLINDRE
- LUBRIFICATION
- EMBIELLAGE
- DISTRIBUTION
- CARTER MOTEUR
- EMBRAYAGE
- SELECTION
- BOITE DE VITESSE
- ALLUMAGE DEMARREUR
- CORPS INJECTION
- AMORTISSEUR
- CENTRIFUGEUSE DE DEMARRAGE
- RED DREAM 4T MX
- KIT ADESIVI 4T RED DREAM
- SOUPAPE
- GRAPHIQUES 4T PINK
- 4T-MX-300-FI-ES 2025
- GUIDON
- FREIN AVANT
- FOURCHE
- ROUE AVANT
- VENTILATEUR
- RADIATEUR
- BOITE A AIR
- CADRE
- PLASTIQUES ET SELLE
- RESERVOIR
- BRAS OSCILLANT
- BIELLETTE
- ROUE ARRIERE
- FREIN ARRIERE
- ECHAPPEMENT
- CABLAGE ET COMPOSANTS
- KIT ADHESIF
- AMORTISSEUR
- EMBIELLAGE
- CORPS INJECTION
- CYLINDRE
- DISTRIBUTION
- LUBRIFICATION
- CARTER MOTEUR
- EMBRAYAGE
- BOITE DE VITESSE
- SELECTION
- ALLUMAGE DEMARREUR
- RED DREAM 4T MX
- KIT ADESIVI 4T RED DREAM
- SOUPAPE
- GRAPHIQUES 4T PINK
- 4T-MX-450-FI-ES 2025
- GUIDON
- FREIN AVANT
- FOURCHE
- ROUE AVANT
- VENTILATEUR
- RADIATEUR
- BOITE A AIR
- CADRE
- PLASTIQUES ET SELLE
- RESERVOIR
- BRAS OSCILLANT
- BIELLETTE
- ROUE ARRIERE
- FREIN ARRIERE
- ECHAPPEMENT
- CABLAGE ET COMPOSANTS
- KIT ADHESIF
- AMORTISSEUR
- RED DREAM 4T MX
- KIT ADESIVI 4T RED DREAM
- ALLUMAGE DEMARREUR
- BOITE DE VITESSE
- SELECTION
- EMBRAYAGE
- EMBIELLAGE
- DISTRIBUTION
- SOUPAPES
- CORPS INJECTION
- CYLINDRE CARTERS
- LUBRIFICATION
- GRAPHIQUES 4T PINK
- 2T-EN-125-FI-ES 2025
- BRAS OSCILLANT
- BIELLETTE
- FREIN ARRIERE
- BAVETTE AR RACING
- ROUE AR
- ECLAIRAGE
- COMPTEUR
- KIT ADHESIF
- GUIDON
- RESERVOIR
- FREIN AV
- ROUE AV
- PLASTIQUES ET SELLE
- FILTRE A AIR LUBRIFICATION
- FAISCEAU ELECTRIQUE SIMPLIFIE
- AMORTISSEUR
- CABLAGE ET COMPOSANTS
- CYLINDRE
- ALLUMAGE
- VALVE D'ECHAPPEMENT
- RADIATEUR
- VENTILATEUR 125cc MY25
- CADRE
- ECHAPPEMENT
- PISTON
- EMBRAYAGE
- CARTER EMBRAYAGE
- SELECTION
- VIS CARTER MOTEUR
- CORPS INJECTION
- PLASTIQUES 2T ENDURO PINK
- FOURCHE
- BOITE VITESSE
- CARTER MOTEUR
- GRAPHIQUES 2T PINK
- KIT ADESIVI 2T RED DREAM
- RED DREAM 2T EN
- 2T-EN-144-FI 2025
- BRAS OSCILLANT
- BIELLETTE
- FREIN ARRIERE
- BAVETTE AR RACING
- ROUE AR
- ECLAIRAGE
- COMPTEUR
- KIT ADHESIF
- GUIDON
- RESERVOIR
- FREIN AV
- ROUE AV
- VENTILATEUR
- RADIATEURS
- RESERVOIR 12 LITRES
- CHASSIS
- PLASTIQUES ET SELLE
- FILTRE A AIR LUBRIFICATION
- ECHAPPEMENT
- FAISCEAU ELECTRIQUE SIMPLIFIE
- AMORTISSEUR
- EMBIELLAGE
- VIS CARTER EMBRAYAGE
- VIS CARTER MOTEUR
- BOITE DE VITESSE
- SELECTION
- CARTER EMBRAYAGE
- EMBRAYAGE
- CARTER MOTEUR
- ALLUMAGE
- COMMANDE VALVES
- CYLINDRE
- CORPS INJECTION
- FAISCEAU ELECTRIQUE
- PLASTIQUES 2T ENDURO PINK
- FOURCHE
- GRAPHIQUES 2T PINK
- KIT ADESIVI 2T RED DREAM
- RED DREAM 2T EN
- 2T-EN-250-FI-ES 2025
- BRAS OSCILLANT
- BIELLETTE
- FREIN ARRIERE
- BAVETTE AR RACING
- ROUE AR
- ECLAIRAGE
- COMPTEUR
- KIT ADHESIF
- RESERVOIR
- FREIN AV
- ROUE AV
- VENTILATEUR
- RADIATEURS
- RESERVOIR 12 LITRES
- CHASSIS
- PLASTIQUES ET SELLE
- FILTRE A AIR LUBRIFICATION
- ECHAPPEMENT
- FAISCEAU ELECTRIQUE
- FAISCEAU ELECTRIQUE SIMPLIFIE
- CYLINDRE
- EMBIELLAGE
- CARTER EMBRAYAGE
- EMBRAYAGE
- CARTER MOTEUR
- SELECTION
- BOITE DE VITESSE
- ALLUMAGE
- AMORTISSEUR
- CORPS INJECTION
- GUIDON
- PLASTIQUES 2T ENDURO PINK
- FOURCHE
- GRAPHIQUES 2T PINK
- KIT ADESIVI 2T RED DREAM
- RED DREAM 2T EN
- VALVE D'ECHAPPEMENT
- 2T-EN-300-FI-ES 2025
- BRAS OSCILLANT
- BIELLETTE
- FREIN ARRIERE
- BAVETTE AR RACING
- ROUE AR
- ECLAIRAGE
- COMPTEUR
- KIT ADHESIF
- RESERVOIR
- FREIN AV
- ROUE AV
- VENTILATEUR
- RADIATEURS
- RESERVOIR 12 LITRES
- CHASSIS
- PLASTIQUES ET SELLE
- FILTRE A AIR LUBRIFICATION
- ECHAPPEMENT
- FAISCEAU ELECTRIQUE
- FAISCEAU ELECTRIQUE SIMPLIFIE
- CARTER EMBRAYAGE
- EMBRAYAGE
- SELECTION
- BOITE DE VITESSE
- ALLUMAGE
- AMORTISSEUR
- CORPS INJECTION
- GUIDON
- EMBIELLAGE
- CYLINDRE
- CARTER MOTEUR
- PLASTIQUES 2T ENDURO PINK
- FOURCHE
- GRAPHIQUES 2T PINK
- KIT ADESIVI 2T RED DREAM
- RED DREAM 2T EN
- VALVE D'ECHAPPEMENT
- 4T-EN-250-FI-ES 2025
- RADIATEUR
- BRAS OSCILLANT
- BIELLETTE
- FREIN ARRIERE
- VENTILATEUR
- DISTRIBUTION
- FILTRE A AIR
- CARTER MOTEUR
- LUBRIFICATION
- EMBRAYAGE
- SELECTION
- AMORTISSEUR
- KIT ADESIVI 4T RED DREAM
- GUIDON
- FREIN AV
- ROUE AV
- PLASTIQUES ET SELLE
- RESERVOIR
- BAVETTE AR RACING
- ROUE AR
- ECHAPPEMENT
- ECLAIRAGE
- FAISCEAU ELECTRIQUE
- COMPTEUR
- KIT ADHESIF
- FAISCEAU ELECTRIQUE SIMPLIFIE
- CYLINDRE
- BOITE DE VITESSE
- ALLUMAGE
- CORPS INJECTION
- EMBIELLAGE
- CADRE
- SOUPAPE
- PLASTIQUES 2T ENDURO PINK
- FOURCHE
- GRAPHIQUES 4T PINK
- PLASTIQUES 4T ENDURO PINK
- RED DREAM 4T EN
- 4T-EN-300-FI-ES 2025
- RADIATEUR
- BRAS OSCILLANT
- BIELLETTE
- FREIN ARRIERE
- VENTILATEUR
- FILTRE A AIR
- AMORTISSEUR
- EMBIELLAGE
- CORPS INJECTION
- KIT ADESIVI 4T RED DREAM
- GUIDON
- FREIN AV
- ROUE AV
- PLASTIQUES ET SELLE
- RESERVOIR
- BAVETTE AR RACING
- ROUE AR
- ECHAPPEMENT
- ECLAIRAGE
- FAISCEAU ELECTRIQUE
- COMPTEUR
- KIT ADHESIF
- FAISCEAU ELECTRIQUE SIMPLIFIE
- SELECTION
- CYLINDRE
- DISTRIBUTION
- LUBRIFICATION
- CARTER MOTEUR
- BOITE DE VITESSE
- ALLUMAGE
- EMBRAYAGE
- CADRE
- SOUPAPE
- PLASTIQUES 2T ENDURO PINK
- FOURCHE
- GRAPHIQUES 4T PINK
- PLASTIQUES 4T ENDURO PINK
- RED DREAM 4T EN
- 4T-EN-450-FI-ES 2025
- CADRE
- BRAS OSCILLANT
- BIELLETTE
- FREIN ARRIERE
- VENTILATEUR
- FILTRE A AIR
- AMORTISSEUR
- KIT ADESIVI 4T RED DREAM
- EMBRAYAGE
- GUIDON
- FREIN AV
- ROUE AV
- PLASTIQUES ET SELLE
- RESERVOIR
- BAVETTE AR RACING
- ROUE AR
- ECLAIRAGE
- FAISCEAU ELECTRIQUE
- COMPTEUR
- KIT ADHESIF
- FAISCEAU ELECTRIQUE SIMPLIFIE
- CORPS INJECTION
- EMBIELLAGE
- SOUPAPES
- DISTRIBUTION
- SELECTION
- ECHAPPEMENT450FI
- BOITE DE VITESSE
- CYLINDRE CARTERS
- ALLUMAGE
- LUBRIFICATION
- RADIATEURS
- PLASTIQUES 2T ENDURO PINK
- FOURCHE
- GRAPHIQUES 4T PINK
- PLASTIQUES 4T ENDURO PINK
- RED DREAM 4T EN
- 2T-SMR-125-FI 2025
- FREIN AV
- ECHAPPEMENT
- EMBRAYAGE
- CARTER EMBRAYAGE
- SELECTION
- CORPS INJECTION
- ROUE AV
- PISTON
- VIS CARTER MOTEUR
- FILTRE A AIR LUBRIFICATION
- FREIN ARRIERE
- COMPTEUR
- BRAS OSCILLANT
- BIELLETTES
- ROUE AR
- AMORTISSEUR
- PARAMANI CIRCUIT S.MOT.P4 CPL BLU
- KIT ADESIVI 2T RED DREAM
- RED DREAM 2T SM
- VIS BAS MOTEUR
- VIS DU COUVERCLE
- BOITE DE VITESSE
- KICK
- CARTER MOTEUR
- ALLUMAGE
- COMMANDE VALVES
- EMBIELLAGE
- CYLINDRE
- GUIDON
- RADIATEURS
- CHASSIS
- RESERVOIR
- RESERVOIR 12 LITRES
- ECLAIRAGE
- KIT ADHESIF
- FAISCEAU ELECTRIQUE
- FOURCHE
- PLASTIQUE ET SELLE
- GRAPHIQUES 2T PINK
- PLASTIQUES 2T SMR PINK
- 2T-SMR-300-FI-ES 2025
- FREIN AV
- ROUE AV
- FREIN AR
- EMBIELLAGE
- CYLINDRE
- VENTILATEUR
- RADIATEURS
- RESERVOIR
- RESERVOIR 12 LITRES
- CHASSIS
- FILTRE A AIR LUBRIFICATION
- FREIN ARRIERE
- ECHAPPEMENT
- FAISCEAU ELECTRIQUE
- GUIDON
- COMPTEUR
- BRAS OSCILLANT
- BIELLETTES
- ROUE AR
- CARTER EMBRAYAGE
- EMBRAYAGE
- CARTER MOTEUR
- SELECTION
- BOITE DE VITESSE
- ALLUMAGE
- AMORTISSEUR
- CORPS INJECTION
- PARAMANI CIRCUIT S.MOT.P4 CPL BLU
- KIT ADESIVI 2T RED DREAM
- RED DREAM 2T SM
- KIT ADHESIF
- FOURCHE
- PLASTIQUE ET SELLE
- ECLAIRAGE
- GRAPHIQUES 2T PINK
- PLASTIQUES 2T SMR PINK
- VALVE D'ECHAPPEMENT
- 4T-SMK-450-FI-ES 2025
- FREIN AV
- CYLINDRE CARTERS
- LUBRIFICATION
- FREIN ARRIERE
- PARAMANI CIRCUIT S.MOT.P4 CPL BLU
- KIT ADESIVI 4T RED DREAM
- RED DREAM 4T SMK
- EMBRAYAGE
- CORPS INJECTION
- ALLUMAGE DEMARREUR
- BOITE DE VITESSE
- SELECTION
- EMBIELLAGE
- DISTRIBUTION
- SOUPAPES
- FAISCEAU ELECTRIQUE
- ECHAPPEMENT
- ROUE AR
- BIELLETTES
- BRAS OSCILLANT
- CHASSIS
- KIT ADHESIF
- ROUE AV 16 pouces
- ROUE AV
- AMORTISSEUR
- FILTRE A AIR
- RESERVOIR
- GUIDON
- FOURCHE KAYABA
- RADIATEURS
- PLASTIQUE ET SELLE
- GRAPHIQUES 4T PINK
- PLASTIQUES 4T SUPERMOTO PINK
- 4T-SMR-450-FI 2025
- ECLAIRAGE
- FREIN AR
- FILTRE A AIR
- RADIATEURS
- VENTILATEUR
- RESERVOIR
- FAISCEAU ELECTRIQUE
- EMBRAYAGE
- GUIDON
- FREIN AV
- ROUE AV
- CHASSIS
- BRAS OSCILLANT
- BIELLETTES
- ROUE AR
- ECHAPPEMENT
- ECHAPPEMNT DOUBLE
- COMPTEUR
- AMORTISSEUR
- CORPS INJECTION
- EMBIELLAGE
- SOUPAPES
- DISTRIBUTION
- SELECTION
- CYLINDRE CARTERS
- ALLUMAGE
- RED DREAM 4T SMR
- KIT ADESIVI 4T RED DREAM
- PARAMANI CIRCUIT S.MOT.P4 CPL BLU
- LUBRIFICATION
- FREIN ARRIERE
- KIT ADHESIF
- FOURCHE
- PLASTIQUE ET SELLE
- BOITE DE VITESSE
- GRAPHIQUES 4T PINK
- PLASTIQUES 4T SUPERMOTO PINK
- TM-CORSE 2025
- COUVERCLE EMB. 2T 125ES - CNC TM CORSE
- COUVERCLE ALL. 2T 125ES FI - CNC TM CORSE
- COUVERCLE ALL. 2T 125ES CARB - CNC TM CORSE
- COUVERCLE ALL. 2T 250/300 ES - CNC TM CORSE
- COUVERCLE EMB. 2T 250/300 ES - CNC TM CORSE
- COUVERCLE ALL. 4T EN 250/300 ES - CNC TM CORSE
- COUVERCLE ALL. 4T MX 250/300 ES - CNC TM CORSE
- COUVERCLE EMB. 4T 250/300 - CNC TM CORSE
- COUVERCLE ALL. 4T 450/530 3 TROUS - CNC TM CORSE
- COUVERCLE ALL. 4T 450/530 4 TROUS - CNC TM CORSE
- COURONE BI MATIERE
- SUPPORT ETRIER DE FREIN ARRIERE - TM CORSE
- PAIRE DE TIRE AXE - TM CORSE
- COUVERCLE POMPE FREIN OU EMB - TM CORSE
- GUIDE CHAINE R-TECH - TM CORSE
- 2T-MX-85-JUNIOR 2025
- TM Racing 2024
- 2T-85-MX-J 2024
- GUIDON
- CYLINDRE
- FREIN AVANT
- FOURCHE FORMULA
- ROUE AVANT
- RADIATEURS
- RESERVOIR
- CHASSIS
- PLASTIQUES
- FILTRE A AIR
- BRAS OSCILLANT
- BIELLETTES
- ROUE ARRIERE
- FREIN ARRIERE
- KIT DECO
- AMORTISSEUR
- ECHAPPEMENT
- EMBIELLAGE 20MM
- ALLUMAGE
- CARTER EMB. COMMANDE VALVES
- EMBRAYAGE
- CARTER MOTEUR
- KICK
- SELECTION
- BOITE A VITESSE
- VIS COUVERCLE MOTEUR
- VIS CARTER MOTEUR
- CARBURATEUR
- KIT DEPART
- 2T-85-SMX-J 2024
- GUIDON
- CYLINDRE
- FREIN AVANT
- FOURCHE FORMULA
- ROUE AVANT
- RADIATEURS
- RESERVOIR
- CHASSIS
- PLASTIQUES
- FILTRE A AIR
- BRAS OSCILLANT
- BIELLETTES
- ROUE ARRIERE
- FREIN ARRIERE
- KIT DECO
- AMORTISSEUR
- ECHAPPEMENT
- EMBIELLAGE 20MM
- ALLUMAGE
- CARTER EMB. COMMANDE VALVES
- EMBRAYAGE
- CARTER MOTEUR
- KICK
- SELECTION
- BOITE A VITESSE
- VIS COUVERCLE MOTEUR
- VIS CARTER MOTEUR
- CARBURATEUR
- 2T-125-FI-SMR 2024
- RESERVOIR
- RESERVOIR 12 LITRES
- RADIATEURS
- CHASSIS
- FILTRE A AIR LUBRIFICATION
- ECHAPPEMENT
- ECLAIRAGE
- KIT AD.M.24 ADESIVIO PORTAFARO
- KIT DECO
- AMORTISSEUR
- FREIN AV
- FOURCHE
- FREIN AR
- COMPTEUR
- GUIDON
- ROUE AV
- ROUE AR
- PLASTIQUES
- BRAS OSCILLANT
- BIELLETTES
- FAISCEAU ELECTRIQUE
- CORPS INJECTION
- CYLINDRE
- EMBIELLAGE
- COMMANDE VALVES
- ALLUMAGE
- CARTER MOTEUR
- EMBRAYAGE
- CARTER EMBRAYAGE
- KICK
- SELECTION
- BOITE DE VITESSE
- VIS DU COUVERCLE
- VIS BAS MOTEUR
- RED DREAM 2T SM
- KIT ADESIVI 2T RED DREAM
- PARAMANI CIRCUIT S.MOT.P4 CPL BLU
- 2T-125-FI-EN 2024
- RESERVOIR
- RESERVOIR 12 LITRES
- RADIATEURS
- CHASSIS
- FILTRE A AIR LUBRIFICATION
- ECHAPPEMENT
- ECLAIRAGE
- AMORTISSEUR
- FREIN AR
- GUIDON
- FREIN AV
- ROUE AV
- FOURCHE
- KIT DECO
- BRAS OSCILLANT
- BIELLETTES
- ROUE AR
- FAISCEAU ELECTRIQUE
- COMPTEUR
- FAISCEAU ELECTRIQUE SIMPLIFIE
- BAVETTE AR RACING
- CYLINDRE
- COMMANDE VALVES
- EMBIELLAGE
- ALLUMAGE
- CARTER MOTEUR
- EMBRAYAGE
- CARTER EMBRAYAGE
- KICK
- SELECTION
- BOITE DE VITESSE
- CORPS INJECTION
- VENTILATEUR
- PLASTIQUES
- RED DREAM 2T EN
- KIT ADESIVI 2T RED DREAM
- PLASTIQUES 2T ENDURO PINK
- 2T-125-MX- 2024
- ROUE AV
- FOURCHE
- BRAS OSCILLANT
- BIELLETTES
- KIT DECO
- RADIATEURS
- AMORTISSEUR
- GUIDON
- FREIN AV
- RESERVOIR
- CHASSIS
- PLASTIQUES
- FILTRE A AIR
- ROUE AR
- FREIN AR
- ECHAPPEMENT
- FAISCEAU ELECTRIQUE
- CARBURATEUR
- CYLINDRE
- COMMANDE VALVES
- EMBIELLAGE
- ALLUMAGE
- CARTER MOTEUR
- KICK SELECTION
- EMBRAYAGE
- CARTER EMBRAYAGE
- BOITE DE VITESSE
- RED DREAM 2T MX
- KIT ADESIVI 2T RED DREAM
- 2T-144-FI-EN 2024
- RESERVOIR
- GUIDON
- FREIN AV
- ROUE AV
- FOURCHE
- BRAS OSCILLANT
- BIELLETTES
- ROUE AR
- FAISCEAU ELECTRIQUE
- COMPTEUR
- ECLAIRAGE
- KIT DECO
- FAISCEAU ELECTRIQUE SIMPLIFIE
- BAVETTE AR RACING
- CORPS INJECTION
- VENTILATEUR
- RADIATEURS
- RESERVOIR 12 LITRES
- CHASSIS
- PLASTIQUES
- FILTRE A AIR LUBRIFICATION
- FREIN AR
- ECHAPPEMENT
- AMORTISSEUR
- CYLINDRE
- COMMANDE VALVES
- ALLUMAGE
- CARTER MOTEUR
- EMBRAYAGE
- CARTER EMBRAYAGE
- SELECTION
- BOITE DE VITESSE
- VIS CARTER MOTEUR
- VIS CARTER EMBRAYAGE
- EMBIELLAGE
- RED DREAM 2T EN
- KIT ADESIVI 2T RED DREAM
- PLASTIQUES 2T ENDURO PINK
- 2T-144-MX 2024
- ROUE AV
- FOURCHE
- BRAS OSCILLANT
- BIELLETTES
- KIT DECO
- GUIDON
- FREIN AV
- RESERVOIR
- PLASTIQUES
- FILTRE A AIR
- ROUE AR
- FREIN AR
- ECHAPPEMENT
- CARBURATEUR
- COMMANDE VALVES
- ALLUMAGE
- RADIATEURS
- AMORTISSEUR
- CHASSIS
- FAISCEAU ELECTRIQUE
- CYLINDRE
- EMBIELLAGE
- CARTER MOTEUR
- KICK SELECTION
- EMBRAYAGE
- CARTER EMBRAYAGE
- BOITE DE VITESSE
- RED DREAM 2T MX
- KIT ADESIVI 2T RED DREAM
- 2T-250-FI-EN 2024
- RESERVOIR
- FREIN AV
- ROUE AV
- FOURCHE
- BRAS OSCILLANT
- BIELLETTES
- ROUE AR
- COMPTEUR
- ECLAIRAGE
- KIT DECO
- FAISCEAU ELECTRIQUE SIMPLIFIE
- BAVETTE AR RACING
- VENTILATEUR
- RADIATEURS
- RESERVOIR 12 LITRES
- PLASTIQUES
- FILTRE A AIR LUBRIFICATION
- FREIN AR
- AMORTISSEUR
- ECHAPPEMENT
- CORPS INJECTION
- CYLINDRE
- EMBIELLAGE
- CARTER EMBRAYAGE
- EMBRAYAGE
- CARTER MOTEUR
- SELECTION
- BOITE DE VITESSE
- KICK
- ALLUMAGE
- GUIDON
- CHASSIS
- FAISCEAU ELECTRIQUE
- RED DREAM 2T EN
- KIT ADESIVI 2T RED DREAM
- PLASTIQUES 2T ENDURO PINK
- VALVE D'ECHAPPEMENT
- 2T-250-MX 2024
- ROUE AV
- FOURCHE
- BRAS OSCILLANT
- BIELLETTES
- KIT DECO
- FREIN AV
- RESERVOIR
- PLASTIQUES
- FREIN AR
- CARBURATEUR
- RADIATEURS
- AMORTISSEUR
- GUIDON
- VENTILATEUR
- CHASSIS
- CYLINDRE
- COMMANDE VALVES
- EMBIELLAGE
- CARTER EMBRAYAGE
- EMBRAYAGE
- CARTER MOTEUR
- SELECTION
- BOITE DE VITESSE
- KICK
- ALLUMAGE
- ECHAPPEMENT
- RED DREAM 2T MX
- KIT ADESIVI 2T RED DREAM
- VALVE D'ECHAPPEMENT
- 2T-300-FI-EN 2024
- RESERVOIR
- FREIN AV
- ROUE AV
- FOURCHE
- BRAS OSCILLANT
- BIELLETTES
- ROUE AR
- COMPTEUR
- ECLAIRAGE
- KIT DECO
- FAISCEAU ELECTRIQUE SIMPLIFIE
- BAVETTE AR RACING
- VENTILATEUR
- RADIATEURS
- RESERVOIR 12 LITRES
- PLASTIQUES
- FILTRE A AIR LUBRIFICATION
- FREIN AR
- AMORTISSEUR
- ECHAPPEMENT
- CORPS INJECTION
- CARTER EMBRAYAGE
- EMBRAYAGE
- SELECTION
- BOITE DE VITESSE
- KICK
- ALLUMAGE
- GUIDON
- CHASSIS
- FAISCEAU ELECTRIQUE
- CYLINDRE
- EMBIELLAGE
- CARTER MOTEUR
- RED DREAM 2T EN
- KIT ADESIVI 2T RED DREAM
- PLASTIQUES 2T ENDURO PINK
- VALVE D'ECHAPPEMENT
- 2T-300-FI-SMR 2024
- FILTRE A AIR LUBRIFICATION
- VENTILATEUR
- RESERVOIR
- PLASTIQUES
- BRAS OSCILLANT
- BIELLETTES
- ROUE AR
- ECLAIRAGE
- KIT DECO
- RADIATEURS
- RESERVOIR 12 LITRES
- FREIN AR
- AMORTISSEUR
- ECHAPPEMENT
- CORPS INJECTION
- CARTER EMBRAYAGE
- EMBRAYAGE
- SELECTION
- BOITE DE VITESSE
- KICK
- ALLUMAGE
- FAISCEAU ELECTRIQUE
- EMBIELLAGE
- CARTER MOTEUR
- GUIDON
- FREIN AV
- FOURCHE
- COMPTEUR
- CYLINDRE
- ROUE AV
- RED DREAM 2T SM
- KIT ADESIVI 2T RED DREAM
- PARAMANI CIRCUIT S.MOT.P4 CPL BLU
- VALVE D'ECHAPPEMENT
- 2T-300-MX 2024
- ROUE AV
- FOURCHE
- BRAS OSCILLANT
- BIELLETTES
- KIT DECO
- FREIN AV
- RESERVOIR
- PLASTIQUES
- FREIN AR
- CARBURATEUR
- RADIATEURS
- AMORTISSEUR
- GUIDON
- VENTILATEUR
- CHASSIS
- CARTER EMBRAYAGE
- EMBRAYAGE
- ALLUMAGE
- FILTRE A AIR
- ECHAPPEMENT
- ROUE AR
- FAISCEAU ELECTRIQUE
- CYLINDRE
- COMMANDE VALVES
- EMBIELLAGE
- CARTER MOTEUR
- SELECTION
- BOITE DE VITESSE
- KICK
- RED DREAM 2T MX
- KIT ADESIVI 2T RED DREAM
- VALVE D'ECHAPPEMENT
- 4T-250-FI-EN 2024
- FREIN AV
- ROUE AV
- FOURCHE
- BRAS OSCILLANT
- BIELLETTES
- COMPTEUR
- ECLAIRAGE
- KIT DECO
- BAVETTE AR RACING
- FREIN AR
- VENTILATEUR
- GUIDON
- RADIATEURS
- FILTRE A AIR
- CHASSIS
- PLASTIQUE
- RESERVOIR
- ECHAPPEMENT
- FAISCEAU ELECTRIQUE
- FAISCEAU ELECTRIQUE SIMPLIFIE
- AMORTISSEUR
- CORPS INJECTION
- CYLINDRE
- SOUPAPES
- EMBIELLAGE
- DISTRIBUTION
- LUBRIFICATION
- CARTER MOTEUR
- EMBRAYAGE
- SELECTION
- BOITE DE VITESSE
- ALLUMAGE
- ROUE AR
- RED DREAM 4T EN
- KIT ADESIVI 4T RED DREAM
- PLASTIQUES 4T ENDURO PINK
- 4T-250-FI-MX 2024
- BIELLETTES
- ROUE AV
- FOURCHE
- BRAS OSCILLANT
- KIT DECO
- FREIN AR
- VENTILATEUR
- RADIATEURS
- FILTRE A AIR
- ECHAPPEMENT
- FAISCEAU ELECTRIQUE
- AMORTISSEUR
- SOUPAPES
- PLASTIQUE
- GUIDON
- FREIN AV
- CHASSIS
- RESERVOIR
- ROUE AR
- CYLINDRE
- EMBIELLAGE
- DISTRIBUTION
- LUBRIFICATION
- CARTER MOTEUR
- EMBRAYAGE
- SELECTION
- BOITE DE VITESSE
- ALLUMAGE DEMARREUR
- CORPS INJECTION
- RED DREAM 4T MX
- KIT ADESIVI 4T RED DREAM
- PLASTIQUES 4T ENDURO PINK
- 4T-300-FI-EN 2024
- FREIN AV
- ROUE AV
- FOURCHE
- BRAS OSCILLANT
- BIELLETTES
- COMPTEUR
- ECLAIRAGE
- KIT DECO
- BAVETTE AR RACING
- FREIN AR
- VENTILATEUR
- GUIDON
- RADIATEURS
- FILTRE A AIR
- PLASTIQUE
- RESERVOIR
- ECHAPPEMENT
- FAISCEAU ELECTRIQUE
- FAISCEAU ELECTRIQUE SIMPLIFIE
- AMORTISSEUR
- SOUPAPES
- CHASSIS
- CYLINDRE
- EMBIELLAGE
- CORPS INJECTION
- DISTRIBUTION
- LUBRIFICATION
- CARTER MOTEUR
- EMBRAYAGE
- SELECTION
- BOITE DE VITESSE
- ALLUMAGE
- Roue AR
- RED DREAM 4T EN
- KIT ADESIVI 4T RED DREAM
- PLASTIQUES 4T ENDURO PINK
- 4T-300-FI-MX 2024
- BIELLETTES
- ROUE AV
- FOURCHE
- BRAS OSCILLANT
- KIT DECO
- FREIN AR
- VENTILATEUR
- RADIATEURS
- FILTRE A AIR
- ECHAPPEMENT
- FAISCEAU ELECTRIQUE
- AMORTISSEUR
- SOUPAPES
- PLASTIQUE
- GUIDON
- FREIN AV
- RESERVOIR
- ROUE AR
- EMBIELLAGE
- CORPS INJECTION
- CYLINDRE
- DISTRIBUTION
- LUBRIFICATION
- CARTER MOTEUR
- EMBRAYAGE
- SELECTION
- BOITE DE VITESSE
- ALLUMAGE DEMARREUR
- RED DREAM 4T MX
- KIT ADESIVI 4T RED DREAM
- 4T-450-FI-SMK 2024
- KIT DECO
- RADIATEURS
- FILTRE A AIR
- RESERVOIR
- PLASTIQUE
- GUIDON
- CYLINDRE CARTERS
- LUBRIFICATION
- AMORTISSEUR
- FREIN AV
- FOURCHE KAYABA
- ROUE AV
- ROUE AV 16 pouces
- CHASSIS
- BRAS OSCILLANT
- BIELLETTES
- ROUE AR
- FREIN AR
- ECHAPPEMENT
- FAISCEAU ELECTRIQUE
- SOUPAPES
- DISTRIBUTION
- EMBIELLAGE
- SELECTION
- BOITE DE VITESSE
- ALLUMAGE DEMARREUR
- CORPS INJECTION
- EMBRAYAGE
- RED DREAM 4T SMK
- KIT ADESIVI 4T RED DREAM
- PARAMANI CIRCUIT S.MOT.P4 CPL BLU
- 4T-450-FI-MX 2024
- BIELLETTES
- ROUE AV
- FOURCHE
- BRAS OSCILLANT
- KIT DECO
- FREIN AR
- VENTILATEUR
- RADIATEURS
- FILTRE A AIR
- FAISCEAU ELECTRIQUE
- AMORTISSEUR
- FREIN AV
- RESERVOIR
- ROUE AR
- GUIDON
- CYLINDRE CARTERS
- LUBRIFICATION
- PLASTIQUE
- CHASSIS
- ECHAPPEMENT
- CORPS INJECTION
- SOUPAPES
- DISTRIBUTION
- EMBIELLAGE
- EMBRAYAGE
- SELECTION
- BOITE DE VITESSE
- ALLUMAGE DEMARREUR
- RED DREAM 4T MX
- KIT ADESIVI 4T RED DREAM
- 4T-450-FI-SMR 2024
- FREIN AR
- RADIATEURS
- FILTRE A AIR
- AMORTISSEUR
- ECLAIRAGE
- KIT DECO
- VENTILATEUR
- RESERVOIR
- FAISCEAU ELECTRIQUE
- EMBRAYAGE
- GUIDON
- FREIN AV
- FOURCHE
- ROUE AV
- CHASSIS
- PLASTIQUE
- BRAS OSCILLANT
- BIELLETTES
- ROUE AR
- ECHAPPEMENT
- ECHAPPEMNT DOUBLE
- COMPTEUR
- CORPS INJECTION
- EMBIELLAGE
- SOUPAPES
- DISTRIBUTION
- SELECTION
- CYLINDRE CARTERS
- ALLUMAGE
- RED DREAM 4T SMR
- KIT ADESIVI 4T RED DREAM
- PARAMANI CIRCUIT S.MOT.P4 CPL BLU
- 4T-450-FI-EN 2024
- GUIDON
- RADIATEURS
- FILTRE A AIR
- VENTILATEUR
- RESERVOIR
- BRAS OSCILLANT
- BIELLETTES
- FREIN AR
- FAISCEAU ELECTRIQUE
- FAISCEAU ELECTRIQUE SIMPLIFIE
- ECLAIRAGE
- COMPTEUR
- BAVETTE AR RACING
- KIT DECO
- AMORTISSEUR
- EMBRAYAGE
- CORPS INJECTION
- EMBIELLAGE
- SOUPAPES
- DISTRIBUTION
- SELECTION
- PLASTIQUE
- FREIN AV
- CHASSIS
- ECHAPPEMENT450FI
- CYLINDRE CARTERS
- BOITE DE VITESSE
- ALLUMAGE
- Roue AR
- RED DREAM 4T EN
- KIT ADESIVI 4T RED DREAM
- 2T-85-MX-J 2024
- TM Racing 2023
- PINK-EDITION 2023
- 2T-85-SMX-J 2023
- EMBIELLAGE 20MM
- GUIDON
- FREIN AVANT
- FOURCHE MUPO
- FOURCHE FORMULA
- ROUE AVANT
- RADIATEURS
- RESERVOIR
- CHASSIS
- PLASTIQUES
- FILTRE A AIR
- BRAS OSCILLANT
- BIELLETTES
- ROUE ARRIERE
- FREIN ARRIERE
- KIT DECO
- AMORTISSEUR
- CYLINDRE
- EMBIELLAGE 18MM
- ALLUMAGE
- CARTER EMB. COMMANDE VALVES
- EMBRAYAGE
- CARTER MOTEUR
- KICK
- SELECTION
- BOITE A VITESSE
- VIS COUVERCLE MOTEUR
- VIS CARTER MOTEUR
- CARBURATEUR
- ECHAPPEMENT
- 2T-85-MX-JUNIOR 2023
- EMBIELLAGE 20MM
- GUIDON
- FREIN AVANT
- FOURCHE MUPO
- FOURCHE FORMULA
- ROUE AVANT
- RADIATEURS
- RESERVOIR
- CHASSIS
- PLASTIQUES
- FILTRE A AIR
- BRAS OSCILLANT
- BIELLETTES
- ROUE ARRIERE
- FREIN ARRIERE
- KIT DECO
- AMORTISSEUR
- CYLINDRE
- EMBIELLAGE 18MM
- ALLUMAGE
- CARTER EMB. COMMANDE VALVES
- EMBRAYAGE
- CARTER MOTEUR
- KICK
- SELECTION
- BOITE A VITESSE
- VIS COUVERCLE MOTEUR
- VIS CARTER MOTEUR
- CARBURATEUR
- ECHAPPEMENT
- KIT DEPART
- 2T-125-FI-SMR 2023
- RESERVOIR
- RESERVOIR 12 LITRES
- RADIATEURS
- CHASSIS
- FILTRE A AIR LUBRIFICATION
- ECHAPPEMENT
- ECLAIRAGE
- KIT DECO
- AMORTISSEUR
- FREIN AV
- FOURCHE
- FREIN AR
- COMPTEUR
- GUIDON
- ROUE AV
- PLASTIQUES
- BRAS OSCILLANT
- BIELLETTES
- ROUE AR
- FAISCEAU ELECTRIQUE
- CORPS INJECTION
- CYLINDRE
- COMMANDE VALVES
- EMBIELLAGE
- ALLUMAGE
- CARTER MOTEUR
- EMBRAYAGE
- CARTER EMBRAYAGE
- KICK
- SELECTION
- BOITE DE VITESSE
- RED DREAM 2T SM
- KIT ADESIVI 2T RED DREAM
- PARAMANI CIRCUIT S.MOT.P4 CPL BLU
- 2T-125-FI-EN 2023
- ROUE AV
- ROUE AR
- GUIDON
- FREIN AV
- FOURCHE
- RESERVOIR
- RESERVOIR 12 LITRES
- RADIATEURS
- CHASSIS
- PLASTIQUES
- FILTRE A AIR LUBRIFICATION
- BRAS OSCILLANT
- BIELLETTES
- ECHAPPEMENT
- FAISCEAU ELECTRIQUE
- COMPTEUR
- ECLAIRAGE
- KIT DECO
- FAISCEAU ELECTRIQUE SIMPLIFIE
- BAVETTE AR RACING
- AMORTISSEUR
- CYLINDRE
- COMMANDE VALVES
- EMBIELLAGE
- ALLUMAGE
- CARTER MOTEUR
- EMBRAYAGE
- CARTER EMBRAYAGE
- KICK
- SELECTION
- BOITE DE VITESSE
- CORPS INJECTION
- FREIN AR
- RED DREAM 2T EN
- KIT ADESIVI 2T RED DREAM
- PLASTIQUES 2T ENDURO PINK
- 2T-125-MX 2023
- FOURCHE
- ROUE AV
- RADIATEURS
- BRAS OSCILLANT
- BIELLETTES
- KIT DECO
- AMORTISSEUR
- GUIDON
- FREIN AV
- RESERVOIR
- CHASSIS
- PLASTIQUES
- FILTRE A AIR
- ROUE AR
- FREIN AR
- ECHAPPEMENT
- FAISCEAU ELECTRIQUE
- CYLINDRE
- COMMANDE VALVES
- EMBIELLAGE
- ALLUMAGE
- CARTER MOTEUR
- KICK SELECTION
- EMBRAYAGE
- CARTER EMBRAYAGE
- BOITE DE VITESSE
- CARBURATEUR
- RED DREAM 2T MX
- KIT ADESIVI 2T RED DREAM
- 2T-144-FI-EN 2023
- GUIDON
- FREIN AV
- FOURCHE
- ROUE AV
- RESERVOIR
- RESERVOIR 12 LITRES
- RADIATEURS
- PLASTIQUES
- FILTRE A AIR LUBRIFICATION
- BRAS OSCILLANT
- BIELLETTES
- ROUE AR
- ECHAPPEMENT
- FAISCEAU ELECTRIQUE
- COMPTEUR
- ECLAIRAGE
- KIT DECO
- FAISCEAU ELECTRIQUE SIMPLIFIE
- BAVETTE AR RACING
- AMORTISSEUR
- COMMANDE VALVES
- ALLUMAGE
- EMBRAYAGE
- CARTER EMBRAYAGE
- KICK
- SELECTION
- CORPS INJECTION
- CHASSIS
- FREIN AR
- CYLINDRE
- EMBIELLAGE
- CARTER MOTEUR
- BOITE DE VITESSE
- VIS CARTER EMBRAYAGE
- VIS CARTER MOTEUR
- RED DREAM 2T EN
- KIT ADESIVI 2T RED DREAM
- PLASTIQUES 2T ENDURO PINK
- 2T-144-MX 2023
- FOURCHE
- ROUE AV
- RADIATEURS
- BRAS OSCILLANT
- BIELLETTES
- KIT DECO
- AMORTISSEUR
- GUIDON
- FREIN AV
- RESERVOIR
- PLASTIQUES
- FILTRE A AIR
- ROUE AR
- FREIN AR
- ECHAPPEMENT
- COMMANDE VALVES
- ALLUMAGE
- CARBURATEUR
- FAISCEAU ELECTRIQUE
- CYLINDRE
- EMBIELLAGE
- CARTER MOTEUR
- KICK SELECTION
- EMBRAYAGE
- CARTER EMBRAYAGE
- BOITE DE VITESSE
- CHASSIS
- RED DREAM 2T MX
- KIT ADESIVI 2T RED DREAM
- 2T-250-FI-EN 2023
- FILTRE A AIR LUBRIFICATION
- FREIN AV
- FOURCHE
- ROUE AV
- RESERVOIR
- RESERVOIR 12 LITRES
- RADIATEURS
- PLASTIQUES
- BRAS OSCILLANT
- BIELLETTES
- COMPTEUR
- ECLAIRAGE
- KIT DECO
- FAISCEAU ELECTRIQUE SIMPLIFIE
- BAVETTE AR RACING
- AMORTISSEUR
- FREIN AR
- GUIDON
- VENTILATEUR
- CHASSIS
- ROUE AR
- ECHAPPEMENT
- FAISCEAU ELECTRIQUE
- CYLINDRE
- COMMANDE VALVES
- EMBIELLAGE
- CARTER EMBRAYAGE
- EMBRAYAGE
- CARTER MOTEUR
- SELECTION
- BOITE DE VITESSE
- KICK
- ALLUMAGE
- CORPS INJECTION
- RED DREAM 2T EN
- KIT ADESIVI 2T RED DREAM
- PLASTIQUES 2T ENDURO PINK
- VALVE D'ECHAPPEMENT
- 2T-250-MX 2023
- FOURCHE
- ROUE AV
- RADIATEURS
- BRAS OSCILLANT
- BIELLETTES
- KIT DECO
- AMORTISSEUR
- FREIN AV
- RESERVOIR
- PLASTIQUES
- FREIN AR
- CARBURATEUR
- GUIDON
- CHASSIS
- FILTRE A AIR
- ROUE AR
- ECHAPPEMENT
- FAISCEAU ELECTRIQUE
- CYLINDRE
- COMMANDE VALVES
- EMBIELLAGE
- CARTER EMBRAYAGE
- EMBRAYAGE
- CARTER MOTEUR
- SELECTION
- BOITE DE VITESSE
- KICK
- ALLUMAGE
- RED DREAM 2T MX
- KIT ADESIVI 2T RED DREAM
- VALVE D'ECHAPPEMENT
- 2T-300-FI-EN 2023
- FILTRE A AIR LUBRIFICATION
- FOURCHE
- ROUE AV
- RESERVOIR
- RESERVOIR 12 LITRES
- RADIATEURS
- PLASTIQUES
- BRAS OSCILLANT
- BIELLETTES
- COMPTEUR
- ECLAIRAGE
- KIT DECO
- FAISCEAU ELECTRIQUE SIMPLIFIE
- BAVETTE AR RACING
- AMORTISSEUR
- FREIN AR
- GUIDON
- VENTILATEUR
- CHASSIS
- ROUE AR
- ECHAPPEMENT
- FAISCEAU ELECTRIQUE
- COMMANDE VALVES
- CARTER EMBRAYAGE
- EMBRAYAGE
- SELECTION
- BOITE DE VITESSE
- KICK
- ALLUMAGE
- CORPS INJECTION
- CYLINDRE
- EMBIELLAGE
- CARTER MOTEUR
- RED DREAM 2T EN
- KIT ADESIVI 2T RED DREAM
- PLASTIQUES 2T ENDURO PINK
- VALVE D'ECHAPPEMENT
- 2T-300-MX 2023
- FOURCHE
- ROUE AV
- RADIATEURS
- BRAS OSCILLANT
- BIELLETTES
- KIT DECO
- AMORTISSEUR
- FREIN AV
- RESERVOIR
- PLASTIQUES
- FREIN AR
- CARBURATEUR
- GUIDON
- CHASSIS
- FILTRE A AIR
- ROUE AR
- ECHAPPEMENT
- FAISCEAU ELECTRIQUE
- CARTER EMBRAYAGE
- EMBRAYAGE
- ALLUMAGE
- CYLINDRE
- COMMANDE VALVES
- EMBIELLAGE
- CARTER MOTEUR
- SELECTION
- BOITE DE VITESSE
- KICK
- RED DREAM 2T MX
- KIT ADESIVI 2T RED DREAM
- VALVE D'ECHAPPEMENT
- 2T-300-FI-SMR 2023
- FILTRE A AIR LUBRIFICATION
- RESERVOIR
- RESERVOIR 12 LITRES
- RADIATEURS
- ECLAIRAGE
- KIT DECO
- AMORTISSEUR
- VENTILATEUR
- ECHAPPEMENT
- FAISCEAU ELECTRIQUE
- COMMANDE VALVES
- CARTER EMBRAYAGE
- EMBRAYAGE
- SELECTION
- BOITE DE VITESSE
- KICK
- ALLUMAGE
- CORPS INJECTION
- CYLINDRE
- EMBIELLAGE
- CARTER MOTEUR
- FREIN AV
- FOURCHE
- ROUE AV
- CHASSIS
- PLASTIQUES
- BRAS OSCILLANT
- BIELLETTES
- ROUE AR
- COMPTEUR
- GUIDON
- RED DREAM 2T SM
- KIT ADESIVI 2T RED DREAM
- PARAMANI CIRCUIT S.MOT.P4 CPL BLU
- VALVE D'ECHAPPEMENT
- 4T-250-FI-EN 2023
- FREIN AV
- FOURCHE
- ROUE AV
- BRAS OSCILLANT
- BIELLETTES
- COMPTEUR
- ECLAIRAGE
- KIT DECO
- BAVETTE AR RACING
- FREIN AR
- GUIDON
- VENTILATEUR
- RADIATEURS
- FILTRE A AIR
- CHASSIS
- PLASTIQUES
- RESERVOIR
- ECHAPPEMENT
- FAISCEAU ELECTRIQUE
- FAISCEAU ELECTRIQUE SIMPLIFIE
- AMORTISSEUR
- CYLINDRE
- SOUPAPES
- EMBIELLAGE
- DISTRIBUTION
- LUBRIFICATION
- CARTER MOTEUR
- EMBRAYAGE
- SELECTION
- BOITE DE VITESSE
- ALLUMAGE
- CORPS INJECTION
- RED DREAM 4T EN
- KIT ADESIVI 4T RED DREAM
- 4T-250-FI-MX 2023
- ROUE AV
- BRAS OSCILLANT
- KIT DECO
- FREIN AR
- VENTILATEUR
- RADIATEURS
- FILTRE A AIR
- ECHAPPEMENT
- FAISCEAU ELECTRIQUE
- AMORTISSEUR
- SOUPAPES
- GUIDON
- FREIN AV
- FOURCHE
- CHASSIS
- PLASTIQUES
- RESERVOIR
- BIELLETTES
- ROUE AR
- CYLINDRE
- EMBIELLAGE
- DISTRIBUTION
- LUBRIFICATION
- CARTER MOTEUR
- EMBRAYAGE
- SELECTION
- BOITE DE VITESSE
- ALLUMAGE DEMARREUR
- CORPS INJECTION
- RED DREAM 4T MX
- KIT ADESIVI 4T RED DREAM
- 4T-300-FI-EN 2023
- FREIN AV
- FOURCHE
- ROUE AV
- BRAS OSCILLANT
- BIELLETTES
- COMPTEUR
- ECLAIRAGE
- KIT DECO
- BAVETTE AR RACING
- FREIN AR
- GUIDON
- VENTILATEUR
- RADIATEURS
- FILTRE A AIR
- PLASTIQUES
- RESERVOIR
- ECHAPPEMENT
- FAISCEAU ELECTRIQUE
- FAISCEAU ELECTRIQUE SIMPLIFIE
- AMORTISSEUR
- SOUPAPES
- CHASSIS
- CYLINDRE
- EMBIELLAGE
- DISTRIBUTION
- LUBRIFICATION
- CARTER MOTEUR
- EMBRAYAGE
- SELECTION
- BOITE DE VITESSE
- ALLUMAGE
- CORPS INJECTION
- Roue AR
- RED DREAM 4T EN
- KIT ADESIVI 4T RED DREAM
- 4T-300-FI-MX 2023
- ROUE AV
- BRAS OSCILLANT
- KIT DECO
- FREIN AR
- VENTILATEUR
- RADIATEURS
- FILTRE A AIR
- ECHAPPEMENT
- FAISCEAU ELECTRIQUE
- AMORTISSEUR
- SOUPAPES
- GUIDON
- FREIN AV
- FOURCHE
- PLASTIQUES
- RESERVOIR
- BIELLETTES
- ROUE AR
- EMBIELLAGE
- CORPS INJECTION
- CHASSIS
- CYLINDRE
- DISTRIBUTION
- LUBRIFICATION
- CARTER MOTEUR
- EMBRAYAGE
- SELECTION
- BOITE DE VITESSE
- ALLUMAGE DEMARREUR
- RED DREAM 4T MX
- KIT ADESIVI 4T RED DREAM
- 4T-450-FI-EN 2023
- ROUE AR
- GUIDON
- RADIATEURS
- FILTRE A AIR
- FREIN AV
- FOURCHE
- ROUE AV
- BRAS OSCILLANT
- BIELLETTES
- COMPTEUR
- ECLAIRAGE
- KIT DECO
- BAVETTE AR RACING
- VENTILATEUR
- RESERVOIR
- FREIN AR
- FAISCEAU ELECTRIQUE
- FAISCEAU ELECTRIQUE SIMPLIFIE
- AMORTISSEUR
- CHASSIS
- PLASTIQUES
- CYLINDRE CARTERS
- SOUPAPES
- DISTRIBUTION
- EMBIELLAGE
- LUBRIFICATION
- EMBRAYAGE
- SELECTION
- BOITE DE VITESSE
- ALLUMAGE
- CORPS INJECTION
- ECHAPPEMENT450FI
- RED DREAM 4T EN
- KIT ADESIVI 4T RED DREAM
- 4T-450-FI-MX 2023
- FILTRE A AIR
- RADIATEURS
- ROUE AV
- BRAS OSCILLANT
- KIT DECO
- VENTILATEUR
- FAISCEAU ELECTRIQUE
- AMORTISSEUR
- FREIN AV
- FOURCHE
- RESERVOIR
- BIELLETTES
- ROUE AR
- ECHAPPEMENT
- GUIDON
- CHASSIS
- PLASTIQUES
- FREIN AR
- CYLINDRE CARTERS
- SOUPAPES
- DISTRIBUTION
- EMBIELLAGE
- LUBRIFICATION
- EMBRAYAGE
- SELECTION
- BOITE DE VITESSE
- ALLUMAGE DEMARREUR
- CORPS INJECTION
- RED DREAM 4T MX
- KIT ADESIVI 4T RED DREAM
- 4T-450-FI-SMR 2023
- FREIN AV
- FREIN AR
- BIELLETTES
- RADIATEURS
- FILTRE A AIR
- PLASTIQUES
- AMORTISSEUR
- BOITE DE VITESSE
- ALLUMAGE
- ECLAIRAGE
- KIT DECO
- FOURCHE
- ROUE AV
- ROUE AR
- COMPTEUR
- VENTILATEUR
- RESERVOIR
- FAISCEAU ELECTRIQUE
- SOUPAPES
- DISTRIBUTION
- EMBIELLAGE
- EMBRAYAGE
- SELECTION
- CORPS INJECTION
- GUIDON
- CHASSIS
- BRAS OSCILLANT
- ECHAPPEMENT
- CYLINDRE CARTERS
- KIT ADESIVI 4T RED DREAM
- PARAMANI CIRCUIT S.MOT.P4 CPL BLU
- 4T-450-FI-SMK 2023
- RADIATEURS
- KIT DECO
- FILTRE A AIR
- RESERVOIR
- GUIDON
- CYLINDRE CARTERS
- LUBRIFICATION
- AMORTISSEUR
- FREIN AV
- FOURCHE KAYABA
- ROUE AV
- ROUE AV 16 pouces
- CHASSIS
- PLASTIQUES
- BRAS OSCILLANT
- BIELLETTES
- ROUE AR
- FREIN AR
- ECHAPPEMENT
- FAISCEAU ELECTRIQUE
- SOUPAPES
- DISTRIBUTION
- EMBIELLAGE
- EMBRAYAGE
- SELECTION
- BOITE DE VITESSE
- ALLUMAGE DEMARREUR
- CORPS INJECTION
- RED DREAM 4T SMK
- KIT ADESIVI 4T RED DREAM
- PARAMANI CIRCUIT S.MOT.P4 CPL BLU
- 4T-530-FI-EN 2023
- FREIN AR
- BRAS OSCILLANT
- BIELLETTES
- COMPTEUR
- ECLAIRAGE
- KIT DECO
- BAVETTE AR RACING
- VENTILATEUR
- RESERVOIR
- FAISCEAU ELECTRIQUE
- FAISCEAU ELECTRIQUE SIMPLIFIE
- AMORTISSEUR
- GUIDON
- FREIN AV
- FOURCHE
- ROUE AV
- RADIATEURS
- FILTRE A AIR
- PLASTIQUES
- ECHAPPEMENT
- CORP INJECTION
- CYLINDRE CARTERS
- SOUPAPES
- DISTRIBUTION
- EMBIELLAGE
- LUBRIFICATION
- EMBRAYAGE
- SELECTION
- BOITE DE VITESSE
- ALLUMAGE
- Roue AR
- RED DREAM 4T EN
- KIT ADESIVI 4T RED DREAM
- 4T-530-FI-SMR 2023
- FREIN AR
- BRAS OSCILLANT
- ECLAIRAGE
- KIT DECO
- ROUE AV
- FREIN AV
- ROUE AR
- COMPTEUR
- VENTILATEUR
- RESERVOIR
- BIELLETTES
- FAISCEAU ELECTRIQUE
- RADIATEURS
- FILTRE A AIR
- PLASTIQUES
- ECHAPPEMENT
- CORP INJECTION
- CYLINDRE CARTERS
- SOUPAPES
- DISTRIBUTION
- EMBIELLAGE
- LUBRIFICATION
- EMBRAYAGE
- SELECTION
- BOITE DE VITESSE
- ALLUMAGE
- AMORTISSEUR
- RED DREAM 4T SMR
- KIT ADESIVI 4T RED DREAM
- PARAMANI CIRCUIT S.MOT.P4 CPL BLU
- TM Racing 2022
- MX-85-JUNIOR 2022
- GUIDON
- FREIN AVANT
- FOURCHE MUPO
- FOURCHE FORMULA
- ROUE AVANT
- RADIATEURS
- RESERVOIR
- CHASSIS
- PLASTIQUES
- FILTRE A AIR
- BRAS OSCILLANT
- BIELLETTES
- ROUE ARRIERE
- FREIN ARRIERE
- ECHAPPEMENT
- KIT DECO
- AMORTISSEUR
- CYLINDRE
- EMBIELLAGE 18MM
- EMBIELLAGE 20MM
- ALLUMAGE
- CARTER EMB. COMMANDE VALVES
- EMBRAYAGE
- CARTER MOTEUR
- KICK
- SELECTION
- BOITE A VITESSE
- VIS COUVERCLE MOTEUR
- VIS CARTER MOTEUR
- CARBURATEUR
- KIT DEPART
- SMX-85-JUNIOR 2022
- GUIDON
- FREIN AVANT
- FOURCHE MUPO
- FOURCHE FORMULA
- ROUE AVANT
- RADIATEURS
- RESERVOIR
- CHASSIS
- PLASTIQUES
- FILTRE A AIR
- BRAS OSCILLANT
- BIELLETTES
- ROUE ARRIERE
- FREIN ARRIERE
- ECHAPPEMENT
- KIT DECO
- AMORTISSEUR
- CYLINDRE
- EMBIELLAGE 18MM
- EMBIELLAGE 20MM
- ALLUMAGE
- CARTER EMB. COMMANDE VALVES
- EMBRAYAGE
- CARTER MOTEUR
- KICK
- SELECTION
- BOITE A VITESSE
- VIS COUVERCLE MOTEUR
- VIS CARTER MOTEUR
- CARBURATEUR
- MX-100-JUNIOR 2022
- GUIDON
- FREIN AVANT
- FOURCHE MUPO
- FOURCHE FORMULA
- ROUE AVANT
- RADIATEURS
- RESERVOIR
- CHASSIS
- PLASTIQUES
- FILTRE A AIR
- BRAS OSCILLANT
- BIELLETTES
- ROUE ARRIERE
- FREIN ARRIERE
- ECHAPPEMENT
- KIT DECO
- AMORTISSEUR
- CYLINDRE
- EMBIELLAGE 18MM
- ALLUMAGE
- CARTER EMB. COMMANDE VALVES
- EMBRAYAGE
- CARTER MOTEUR
- KICK
- SELECTION
- BOITE A VITESSE
- VIS COUVERCLE MOTEUR
- VIS CARTER MOTEUR
- CARBURATEUR
- SMX-100-JUNIOR 2022
- GUIDON
- FREIN AVANT
- FOURCHE MUPO
- FOURCHE FORMULA
- ROUE AVANT
- RADIATEURS
- RESERVOIR
- CHASSIS
- PLASTIQUES
- FILTRE A AIR
- BRAS OSCILLANT
- BIELLETTES
- ROUE ARRIERE
- FREIN ARRIERE
- ECHAPPEMENT
- KIT DECO
- AMORTISSEUR
- CYLINDRE
- EMBIELLAGE 18MM
- ALLUMAGE
- CARTER EMB. COMMANDE VALVES
- EMBRAYAGE
- CARTER MOTEUR
- KICK
- SELECTION
- BOITE A VITESSE
- VIS COUVERCLE MOTEUR
- VIS CARTER MOTEUR
- CARBURATEUR
- MX-112-JUNIOR 2022
- GUIDON
- FREIN AVANT
- FOURCHE
- ROUE AVANT
- RADIATEURS
- RESERVOIR
- CHASSIS
- PLASTIQUES
- FILTRE A AIR
- BRAS OSCILLANT
- BIELLETTES
- ROUE ARRIERE
- FREIN ARRIERE
- ECHAPPEMENT
- KIT DECO
- AMORTISSEUR
- CYLINDRE
- EMBIELLAGE
- ALLUMAGE
- CARTER EMB. COMMANDE VALVES
- EMBRAYAGE
- CARTER MOTEUR
- KICK
- SELECTION
- BOITE A VITESSE
- VIS COUVERCLE MOTEUR
- VIS CARTER MOTEUR
- CARBURATEUR
- EN-125Fi 2022
- GUIDON
- FREIN AV
- FOURCHE
- ROUE AV
- RESERVOIR
- RESERVOIR 12 LITRES
- RADIATEURS
- CHASSIS
- PLASTIQUES
- FILTRE A AIR LUBRIFICATION
- BRAS OSCILLANT
- BIELLETTES
- ROUE AR
- FREIN AR
- ECHAPPEMENT
- FAISCEAU ELECTRIQUE
- COMPTEUR
- ECLAIRAGE
- KIT DECO
- FAISCEAU ELECTRIQUE SIMPLIFIE
- BAVETTE AR RACING
- AMORTISSEUR
- CYLINDRE
- COMMANDE VALVES
- EMBIELLAGE
- ALLUMAGE
- CARTER MOTEUR
- EMBRAYAGE
- CARTER EMBRAYAGE
- KICK
- SELECTION
- BOITE DE VITESSE
- CORPS INJECTION
- PARAMOTORE 125 / 144 MX / EN MY 2022
- RED DREAM 2T EN
- KIT ADESIVI 2T RED DREAM
- PLASTIQUES 2T ENDURO PINK
- SUPPORTO CAVALLETTO MY22
- MX-125 2022
- GUIDON
- FREIN AV
- FOURCHE
- ROUE AV
- RADIATEURS
- RESERVOIR
- CHASSIS
- PLASTIQUES
- FILTRE A AIR
- BRAS OSCILLANT
- BIELLETTES
- ROUE AR
- FREIN AR
- ECHAPPEMENT
- FAISCEAU ELECTRIQUE
- KIT DECO
- AMORTISSEUR
- CYLINDRE
- COMMANDE VALVES
- EMBIELLAGE
- ALLUMAGE
- CARTER MOTEUR
- KICK SELECTION
- EMBRAYAGE
- CARTER EMBRAYAGE
- BOITE DE VITESSE
- CARBURATEUR
- PARAMOTORE 125 / 144 MX / EN MY 2022
- RED DREAM 2T MX
- KIT ADESIVI 2T RED DREAM
- EN-144-Fi 2022
- GUIDON
- FREIN AV
- FOURCHE
- ROUE AV
- RADIATEURS
- RESERVOIR
- RESERVOIR 12 LITRES
- CHASSIS
- PLASTIQUES
- FILTRE A AIR LUBRIFICATION
- BRAS OSCILLANT
- BIELLETTES
- ROUE AR
- FREIN AR
- ECHAPPEMENT
- FAISCEAU ELECTRIQUE
- ECLAIRAGE
- COMPTEUR
- KIT DECO
- FAISCEAU ELECTRIQUE SIMPLIFIE
- BAVETTE AR RACING
- AMORTISSEUR
- CYLINDRE
- COMMANDE VALVES
- EMBIELLAGE
- ALLUMAGE
- CARTER MOTEUR
- EMBRAYAGE
- CARTER EMBRAYAGE
- KICK
- SELECTION
- BOITE DE VITESSE
- CORPS INJECTION
- PARAMOTORE 125 / 144 MX / EN MY 2022
- VIS CARTER EMBRAYAGE
- RED DREAM 2T EN
- KIT ADESIVI 2T RED DREAM
- PLASTIQUES 2T ENDURO PINK
- MX-144 2022
- GUIDON
- FREIN AV
- FOURCHE
- ROUE AV
- RADIATEURS
- RESERVOIR
- PLASTIQUES
- FILTRE A AIR
- BRAS OSCILLANT
- BIELLETTES
- ROUE AR
- FREIN AR
- ECHAPPEMENT
- FAISCEAU ELECTRIQUE
- KIT DECO
- AMORTISSEUR
- CYLINDRE
- COMMANDE VALVES
- EMBIELLAGE
- ALLUMAGE
- CARTER MOTEUR
- KICK SELECTION
- EMBRAYAGE
- CARTER EMBRAYAGE
- BOITE DE VITESSE
- CARBURATEUR
- PARAMOTORE 125 / 144 MX / EN MY 2022
- CHASSIS
- RED DREAM 2T MX
- KIT ADESIVI 2T RED DREAM
- EN-250Fi-ES-2T 2022
- GUIDON
- FAISCEAU ELECTRIQUE
- FREIN AV
- FOURCHE
- ROUE AV
- VENTILATEUR
- RADIATEURS
- RESERVOIR
- RESERVOIR 12 LITRES
- CHASSIS
- PLASTIQUES
- FILTRE A AIR LUBRIFICATION
- BRAS OSCILLANT
- BIELLETTES
- ROUE AR
- FREIN AR
- ECHAPPEMENT
- ECLAIRAGE
- COMPTEUR
- KIT DECO
- FAISCEAU ELECTRIQUE SIMPLIFIE
- BAVETTE AR RACING
- AMORTISSEUR
- CYLINDRE
- COMMANDE VALVES
- EMBIELLAGE
- CARTER EMBRAYAGE
- EMBRAYAGE
- CARTER MOTEUR
- SELECTION
- BOITE DE VITESSE
- KICK
- ALLUMAGE
- CORPS INJECTION
- RED DREAM 2T EN
- KIT ADESIVI 2T RED DREAM
- PLASTIQUES 2T ENDURO PINK
- MX-250-ES 2022
- GUIDON
- FREIN AV
- FOURCHE
- ROUE AV
- RADIATEURS
- RESERVOIR
- CHASSIS
- PLASTIQUES
- FILTRE A AIR
- BRAS OSCILLANT
- BIELLETTES
- ROUE AR
- FREIN AR
- ECHAPPEMENT
- FAISCEAU ELECTRIQUE
- KIT DECO
- AMORTISSEUR
- CYLINDRE
- COMMANDE VALVES
- EMBIELLAGE
- CARTER EMBRAYAGE
- EMBRAYAGE
- CARTER MOTEUR
- SELECTION
- BOITE DE VITESSE
- KICK
- ALLUMAGE
- CARBURATEUR
- RED DREAM 2T MX
- KIT ADESIVI 2T RED DREAM
- EN-300Fi-ES-2T 2022
- GUIDON
- FAISCEAU ELECTRIQUE
- FREIN AV
- FOURCHE
- ROUE AV
- VENTILATEUR
- RADIATEURS
- RESERVOIR
- RESERVOIR 12 LITRES
- CHASSIS
- PLASTIQUES
- FILTRE A AIR LUBRIFICATION
- BRAS OSCILLANT
- BIELLETTES
- ROUE AR
- FREIN AR
- ECHAPPEMENT
- ECLAIRAGE
- COMPTEUR
- KIT DECO
- FAISCEAU ELECTRIQUE SIMPLIFIE
- BAVETTE AR RACING
- AMORTISSEUR
- CYLINDRE
- COMMANDE VALVES
- EMBIELLAGE
- CARTER EMBRAYAGE
- EMBRAYAGE
- CARTER MOTEUR
- SELECTION
- BOITE DE VITESSE
- KICK
- ALLUMAGE
- CORPS INJECTION
- RED DREAM 2T EN
- KIT ADESIVI 2T RED DREAM
- PLASTIQUES 2T ENDURO PINK
- MX-300-ES 2022
- GUIDON
- FREIN AV
- FOURCHE
- ROUE AV
- RADIATEURS
- RESERVOIR
- CHASSIS
- PLASTIQUES
- FILTRE A AIR
- BRAS OSCILLANT
- BIELLETTES
- ROUE AR
- FREIN AR
- ECHAPPEMENT
- FAISCEAU ELECTRIQUE
- KIT DECO
- AMORTISSEUR
- CYLINDRE
- COMMANDE VALVES
- EMBIELLAGE
- CARTER EMBRAYAGE
- EMBRAYAGE
- CARTER MOTEUR
- SELECTION
- BOITE DE VITESSE
- KICK
- ALLUMAGE
- CARBURATEUR
- RED DREAM 2T MX
- KIT ADESIVI 2T RED DREAM
- SMR-300Fi-2T 2022
- FREIN AV
- FAISCEAU ELECTRIQUE
- FOURCHE
- ROUE AV
- VENTILATEUR
- RADIATEURS
- RESERVOIR
- RESERVOIR 12 LITRES
- CHASSIS
- PLASTIQUES
- FILTRE A AIR LUBRIFICATION
- BRAS OSCILLANT
- BIELLETTES
- ROUE AR
- FREIN AR
- ECHAPPEMENT
- ECLAIRAGE
- COMPTEUR
- KIT DECO
- AMORTISSEUR
- CYLINDRE
- COMMANDE VALVES
- EMBIELLAGE
- CARTER EMBRAYAGE
- EMBRAYAGE
- CARTER MOTEUR
- SELECTION
- BOITE DE VITESSE
- KICK
- ALLUMAGE
- CORPS INJECTION
- RED DREAM 2T SM
- KIT ADESIVI 2T RED DREAM
- PARAMANI CIRCUIT S.MOT.P4 CPL BLU
- EN-250Fi-ES-4T 2022
- GUIDON
- FREIN AV
- FOURCHE
- ROUE AV
- VENTILATEUR
- RADIATEURS
- FILTRE A AIR
- CHASSIS
- PLASTIQUES
- RESERVOIR
- BRAS OSCILLANT
- BIELLETTES
- ROUE AR
- FREIN AR
- ECHAPPEMENT
- FAISCEAU ELECTRIQUE
- ECLAIRAGE
- COMPTEUR
- KIT DECO
- FAISCEAU ELECTRIQUE SIMPLIFIE
- BAVETTE AR RACING
- AMORTISSEUR
- CYLINDRE
- SOUPAPES
- EMBIELLAGE
- DISTRIBUTION
- LUBRIFICATION
- CARTER MOTEUR
- EMBRAYAGE
- SELECTION
- BOITE DE VITESSE
- ALLUMAGE
- CORPS INJECTION
- RED DREAM 4T EN
- KIT ADESIVI 4T RED DREAM
- MX-250Fi-4T 2022
- GUIDON
- FREIN AV
- FOURCHE
- ROUE AV
- VENTILATEUR
- RADIATEURS
- FILTRE A AIR
- CHASSIS
- PLASTIQUES
- RESERVOIR
- BRAS OSCILLANT
- BIELLETTES
- ROUE AR
- FREIN AR
- ECHAPPEMENT
- FAISCEAU ELECTRIQUE
- KIT DECO
- AMORTISSEUR
- CYLINDRE
- SOUPAPES
- EMBIELLAGE
- DISTRIBUTION
- LUBRIFICATION
- CARTER MOTEUR
- EMBRAYAGE
- SELECTION
- BOITE DE VITESSE
- ALLUMAGE DEMARREUR
- CORPS INJECTION
- KIT ADESIVI 4T RED DREAM
- EN-300Fi-ES-4T 2022
- GUIDON
- FREIN AV
- FOURCHE
- ROUE AV
- VENTILATEUR
- RADIATEURS
- FILTRE A AIR
- CHASSIS
- PLASTIQUES
- RESERVOIR
- BRAS OSCILLANT
- BIELLETTES
- ROUE AR
- FREIN AR
- ECHAPPEMENT
- FAISCEAU ELECTRIQUE
- ECLAIRAGE
- COMPTEUR
- KIT DECO
- FAISCEAU ELECTRIQUE SIMPLIFIE
- BAVETTE AR RACING
- AMORTISSEUR
- CYLINDRE
- SOUPAPES
- EMBIELLAGE
- DISTRIBUTION
- LUBRIFICATION
- CARTER MOTEUR
- EMBRAYAGE
- SELECTION
- BOITE DE VITESSE
- KICK
- ALLUMAGE
- CORPS INJECTION
- RED DREAM 4T EN
- KIT ADESIVI 4T RED DREAM
- MX-300Fi-4T 2022
- GUIDON
- EMBIELLAGE
- FREIN AV
- FOURCHE
- ROUE AV
- VENTILATEUR
- RADIATEURS
- FILTRE A AIR
- CHASSIS
- PLASTIQUES
- RESERVOIR
- BRAS OSCILLANT
- BIELLETTES
- ROUE AR
- FREIN AR
- ECHAPPEMENT
- FAISCEAU ELECTRIQUE
- KIT DECO
- AMORTISSEUR
- CYLINDRE
- SOUPAPES
- DISTRIBUTION
- LUBRIFICATION
- CARTER MOTEUR
- EMBRAYAGE
- SELECTION
- BOITE DE VITESSE
- KICK
- ALLUMAGE DEMARREUR
- CORPS INJECTION
- KIT ADESIVI 4T RED DREAM
- EN-450Fi-4T 2022
- GUIDON
- FREIN AV
- FOURCHE
- ROUE AV
- VENTILATEUR
- RADIATEURS
- FILTRE A AIR
- CHASSIS
- PLASTIQUES
- RESERVOIR
- BRAS OSCILLANT
- BIELLETTES
- ROUE AR
- FREIN AR
- ECHAPPEMENT
- FAISCEAU ELECTRIQUE
- ECLAIRAGE
- COMPTEUR
- KIT DECO
- FAISCEAU ELECTRIQUE SIMPLIFIE
- BAVETTE AR RACING
- AMORTISSEUR
- CYLINDRE CARTERS
- SOUPAPES
- DISTRIBUTION
- EMBIELLAGE
- LUBRIFICATION
- EMBRAYAGE
- SELECTION
- BOITE DE VITESSE
- KICK
- ALLUMAGE
- CORPS INJECTION
- RED DREAM 4T EN
- KIT ADESIVI 4T RED DREAM
- MX-450Fi-4T 2022
- GUIDON
- FREIN AV
- FOURCHE
- ROUE AV
- VENTILATEUR
- RADIATEURS
- FILTRE A AIR
- CHASSIS
- PLASTIQUES
- RESERVOIR
- BRAS OSCILLANT
- BIELLETTES
- ROUE AR
- FREIN AR
- ECHAPPEMENT
- FAISCEAU ELECTRIQUE
- KIT DECO
- AMORTISSEUR
- CYLINDRE CARTERS
- SOUPAPES
- DISTRIBUTION
- EMBIELLAGE
- LUBRIFICATION
- EMBRAYAGE
- SELECTION
- BOITE DE VITESSE
- ALLUMAGE DEMARREUR
- CORPS INJECTION
- KIT ADESIVI 4T RED DREAM
- SMR-450Fi-4T 2022
- GUIDON
- FREIN AV
- FOURCHE
- ROUE AV
- VENTILATEUR
- RADIATEURS
- FILTRE A AIR
- CHASSIS
- PLASTIQUES
- RESERVOIR
- BRAS OSCILLANT
- BIELLETTES
- ROUE AR
- FREIN AR
- ECHAPPEMENT
- FAISCEAU ELECTRIQUE
- ECLAIRAGE
- COMPTEUR
- KIT DECO
- AMORTISSEUR
- CYLINDRE CARTERS
- SOUPAPES
- DISTRIBUTION
- EMBIELLAGE
- LUBRIFICATION
- EMBRAYAGE
- SELECTION
- BOITE DE VITESSE
- KICK
- ALLUMAGE
- CORPS INJECTION
- RED DREAM 4T SMR
- KIT ADESIVI 4T RED DREAM
- PARAMANI CIRCUIT S.MOT.P4 CPL BLU
- SMK-450Fi-4T 2022
- GUIDON
- FREIN AV
- FOURCHE KAYABA
- ROUE AV
- ROUE AV 16 pouces
- RADIATEURS
- FILTRE A AIR
- CHASSIS
- PLASTIQUES
- RESERVOIR
- BRAS OSCILLANT
- BIELLETTES
- ROUE AR
- FREIN AR
- ECHAPPEMENT
- FAISCEAU ELECTRIQUE
- KIT DECO
- AMORTISSEUR
- CYLINDRE CARTERS
- SOUPAPES
- DISTRIBUTION
- EMBIELLAGE
- LUBRIFICATION
- EMBRAYAGE
- SELECTION
- BOITE DE VITESSE
- ALLUMAGE DEMARREUR
- CORPS INJECTION
- RED DREAM 4T SMK
- KIT ADESIVI 4T RED DREAM
- PARAMANI CIRCUIT S.MOT.P4 CPL BLU
- MX-85-JUNIOR 2022
- TM Racing 2021
- MX-85-JUNIOR 2021
- MX-85-SENIOR 2021
- SMX-85-JUNIOR 2021
- MX-100-JUNIOR 2021
- SMX-100-JUNIOR 2021
- EN-125Fi 2021
- GUIDON
- FREIN AV
- FOURCHE
- ROUE AV
- RADIATEURS
- RESERVOIR
- CHASSIS
- PLASTIQUES
- FILTRE A AIR
- BRAS OSCILLANT
- BIELLETTES
- ROUE AR
- FREIN AR
- ECHAPPEMENT
- COMPTEUR
- ECLAIRAGE
- LUBRIFICATION
- FAISCEAU ELECTRIQUE
- KIT DECO
- AMORTISSEUR
- CYLINDRE
- INJECTEUR
- COMMANDE VALVES
- EMBIELLAGE
- ALLUMAGE
- CARTER MOTEUR
- EMBRAYAGE
- CARTER EMBRAYAGE
- KICK
- SELECTION
- BOITE DE VITESSE
- CORPS INJECTION
- CORPS INJECTION 2
- SMR-125Fi 2021
- GUIDON
- FREIN AV
- FOURCHE
- ROUE AV
- RADIATEURS
- RESERVOIR
- CHASSIS
- PLASTIQUES
- FILTRE A AIR
- BRAS OSCILLANT
- BIELLETTES
- ROUE AR
- FREIN AR
- ECHAPPEMENT
- LUBRIFICATION
- FAISCEAU ELECTRIQUE
- COMPTEUR
- ECLAIRAGE
- KIT DECO
- AMORTISSEUR
- CYLINDRE
- INJECTEUR
- COMMANDE VALVES
- EMBIELLAGE
- ALLUMAGE
- CARTER MOTEUR
- EMBRAYAGE
- CARTER EMBRAYAGE
- KICK
- SELECTION
- BOITE DE VITESSE
- CORPS INJECTION
- MX-125 2021
- EN-144 2021
- EN-144Fi 2021
- GUIDON
- FREIN AV
- FOURCHE
- ROUE AV
- RADIATEURS
- RESERVOIR
- CHASSIS
- PLASTIQUES
- FILTRE A AIR
- BRAS OSCILLANT
- BIELLETTES
- ROUE AR
- FREIN AR
- ECHAPPEMENT
- COMPTEUR
- ECLAIRAGE
- LUBRIFICATION
- FAISCEAU ELECTRIQUE
- KIT DECO
- AMORTISSEUR
- CYLINDRE
- INJECTEUR
- COMMANDE VALVES
- EMBIELLAGE
- ALLUMAGE
- CARTER MOTEUR
- EMBRAYAGE
- CARTER EMBRAYAGE
- KICK
- SELECTION
- BOITE DE VITESSE
- CORPS INJECTION
- CORPS INJECTION 2
- MX-144 2021
- EN-250Fi-ES-2T 2021
- GUIDON
- FREIN AV
- FOURCHE
- ROUE AV
- RADIATEURS
- VENTILATEUR
- RESERVOIR
- CHASSIS
- PLASTIQUES
- FILTRE A AIR
- BRAS OSCILLANT
- BIELLETTES
- ROUE AR
- FREIN AR
- ECHAPPEMENT
- LUBRIFICATION
- FAISCEAU ELECTRIQUE
- COMPTEUR
- ECLAIRAGE
- KIT DECO
- AMORTISSEUR
- CYLINDRE
- COMMANDE VALVES
- EMBIELLAGE
- CARTER EMBRAYAGE
- EMBRAYAGE
- CARTER MOTEUR
- SELECTION
- BOITE DE VITESSE
- KICK
- ALLUMAGE
- INJECTEUR
- CORPS INJECTION
- MX-250-ES 2021
- EN-300Fi-ES-2T 2021
- GUIDON
- FREIN AV
- FOURCHE
- ROUE AV
- RADIATEURS
- VENTILATEUR
- RESERVOIR
- CHASSIS
- PLASTIQUES
- FILTRE A AIR
- BRAS OSCILLANT
- BIELLETTES
- ROUE AR
- FREIN AR
- ECHAPPEMENT
- LUBRIFICATION
- FAISCEAU ELECTRIQUE
- COMPTEUR
- ECLAIRAGE
- KIT DECO
- AMORTISSEUR
- CYLINDRE
- COMMANDE VALVES
- EMBIELLAGE
- CARTER EMBRAYAGE
- EMBRAYAGE
- CARTER MOTEUR
- SELECTION
- BOITE DE VITESSE
- KICK
- ALLUMAGE
- INJECTEUR
- CORPS INJECTION
- SMR-300Fi-2T 2021
- GUIDON
- FREIN AV
- FOURCHE
- ROUE AV
- RADIATEURS
- VENTILATEUR
- RESERVOIR
- CHASSIS
- PLASTIQUES
- FILTRE A AIR
- BRAS OSCILLANT
- BIELLETTES
- ROUE AR
- FREIN AR
- ECHAPPEMENT
- LUBRIFICATION
- FAISCEAU ELECTRIQUE
- COMPTEUR
- ECLAIRAGE
- KIT DECO
- AMORTISSEUR
- CYLINDRE
- COMMANDE VALVES
- EMBIELLAGE
- CARTER EMBRAYAGE
- EMBRAYAGE
- CARTER MOTEUR
- SELECTION
- BOITE DE VITESSE
- KICK
- ALLUMAGE
- INJECTEUR
- CORPS INJECTION
- PARAMANI CIRCUIT S.MOT.P4 CPL BLU
- MX-300-ES 2021
- SMX-300-2T 2021
- GUIDON
- FREIN AV
- FOURCHE MARZOCCHI
- FOURCHE KAYABA
- ROUE AV
- RADIATEURS
- RESERVOIR
- CHASSIS
- PLASTIQUES
- FILTRE A AIR
- BRAS OSCILLANT
- BIELLETTES
- ROUE AR
- FREIN AR
- ECHAPPEMENT
- FAISCEAU ELECTRIQUE
- KIT DECO
- AMORTISSEUR
- CYLINDRE
- COMMANDE VALVES
- EMBIELLAGE
- CARTER EMBRAYAGE
- EMBRAYAGE
- CARTER MOTEUR
- SELECTION
- BOITE DE VITESSE
- KICK
- ALLUMAGE
- CARBURATEUR
- PARAMANI CIRCUIT S.MOT.P4 CPL BLU
- EN-250Fi-ES-4T 2021
- GUIDON
- FREIN AV
- FOURCHE
- ROUE AV
- RADIATEURS
- VENTILATEUR
- FILTRE A AIR
- CHASSIS
- PLASTIQUES
- RESERVOIR
- BRAS OSCILLANT
- BIELLETTES
- ROUE AR
- FREIN AR
- ECHAPPEMENT
- FAISCEAU ELECTRIQUE
- COMPTEUR
- ECLAIRAGE
- KIT DECO
- AMORTISSEUR
- CYLINDRE
- SOUPAPES
- EMBIELLAGE
- DISTRIBUTION
- LUBRIFICATION
- CARTER MOTEUR
- EMBRAYAGE
- SELECTION
- BOITE DE VITESSE
- ALLUMAGE
- CORPS INJECTION
- MX-250Fi-4T 2021
- GUIDON
- FREIN AV
- FOURCHE
- ROUE AV
- RADIATEURS
- FILTRE A AIR
- CHASSIS
- PLASTIQUES
- RESERVOIR
- BRAS OSCILLANT
- BIELLETTES
- ROUE AR
- FREIN AR
- ECHAPPEMENT
- FAISCEAU POUR DEMARREUR
- FAISCEAU POUR KICK
- KIT DECO
- AMORTISSEUR
- CYLINDRE
- SOUPAPES
- EMBIELLAGE
- DISTRIBUTION
- LUBRIFICATION
- CARTER MOTEUR
- EMBRAYAGE ADLER
- EMBRAYAGE
- SELECTION
- BOITE DE VITESSE
- KICK
- ALLUMAGE DEMARREUR
- ALLUMAGE POUR KICK
- CORPS INJECTION
- SMX-250Fi-4T 2021
- GUIDON
- FREIN AV
- FOURCHE MARZOCCHI
- FOURCHE KAYABA
- ROUE AV
- RADIATEURS
- FILTRE A AIR
- CHASSIS
- PLASTIQUES
- RESERVOIR
- BRAS OSCILLANT
- BIELLETTES
- ROUE AR
- FREIN AR
- ECHAPPEMENT
- FAISCEAU POUR DEMARREUR
- FAISCEAU POUR KICK
- KIT DECO
- CYLINDRE
- SOUPAPES
- EMBIELLAGE
- DISTRIBUTION
- LUBRIFICATION
- CARTER MOTEUR
- EMBRAYAGE ADLER
- EMBRAYAGE
- SELECTION
- BOITE DE VITESSE
- KICK
- ALLUMAGE DEMARREUR
- ALLUMAGE POUR KICK
- CORPS INJECTION
- PARAMANI CIRCUIT S.MOT.P4 CPL BLU
- EN-300Fi-ES-4T 2021
- GUIDON
- FREIN AV
- FOURCHE
- ROUE AV
- RADIATEURS
- VENTILATEUR
- FILTRE A AIR
- CHASSIS
- PLASTIQUES
- RESERVOIR
- BRAS OSCILLANT
- BIELLETTES
- ROUE AR
- FREIN AR
- ECHAPPEMENT
- FAISCEAU ELECTRIQUE
- COMPTEUR
- ECLAIRAGE
- KIT DECO
- AMORTISSEUR
- CYLINDRE
- SOUPAPES
- EMBIELLAGE
- DISTRIBUTION
- LUBRIFICATION
- CARTER MOTEUR
- EMBRAYAGE
- SELECTION
- BOITE DE VITESSE
- KICK
- ALLUMAGE
- CORPS INJECTION
- MX-300Fi-4T 2021
- GUIDON
- FREIN AV
- FOURCHE
- ROUE AV
- RADIATEURS
- FILTRE A AIR
- CHASSIS
- PLASTIQUES
- RESERVOIR
- BRAS OSCILLANT
- BIELLETTES
- ROUE AR
- FREIN AR
- ECHAPPEMENT
- FAISCEAU ELECTRIQUE
- KIT DECO
- AMORTISSEUR
- CYLINDRE
- SOUPAPES
- EMBIELLAGE
- DISTRIBUTION
- LUBRIFICATION
- CARTER MOTEUR
- EMBRAYAGE
- SELECTION
- BOITE DE VITESSE
- KICK
- ALLUMAGE DEMARREUR
- ALLUMAGE POUR KICK
- CORPS INJECTION
- EN-450Fi-4T 2021
- GUIDON
- FREIN AV
- FOURCHE
- ROUE AV
- RADIATEURS
- FILTRE A AIR
- CHASSIS
- PLASTIQUES
- RESERVOIR
- BRAS OSCILLANT
- BIELLETTES
- ROUE AR
- FREIN AR
- ECHAPPEMENT
- FAISCEAU ELECTRIQUE
- COMPTEUR
- ECLAIRAGE
- KIT DECO
- AMORTISSEUR
- CYLINDRE CARTERS
- SOUPAPES
- DISTRIBUTION
- EMBIELLAGE
- LUBRIFICATION
- EMBRAYAGE
- SELECTION
- BOITE DE VITESSE
- KICK
- ALLUMAGE
- CORPS INJECTION
- MX-450Fi-4T 2021
- GUIDON
- FREIN AV
- FOURCHE
- ROUE AV
- RADIATEURS
- FILTRE A AIR
- CHASSIS
- PLASTIQUES
- RESERVOIR
- BRAS OSCILLANT
- BIELLETTES
- ROUE AR
- FREIN AR
- ECHAPPEMENT
- FAISCEAU ELECTRIQUE
- KIT DECO
- AMORTISSEUR
- CYLINDRE CARTERS
- SOUPAPES
- DISTRIBUTION
- EMBIELLAGE DEMARREUR
- EMBIELLAGE KICK
- LUBRIFICATION
- EMBRAYAGE
- SELECTION
- BOITE DE VITESSE
- KICK
- ALLUMAGE DEMARREUR
- ALLUMAGE KICK
- CORPS INJECTION
- SMR-450Fi-4T 2021
- GUIDON
- FREIN AV
- FOURCHE
- ROUE AV
- RADIATEURS
- FILTRE A AIR
- CHASSIS
- PLASTIQUES
- RESERVOIR
- BRAS OSCILLANT
- BIELLETTES
- ROUE AR
- FREIN AR
- ECHAPPEMENT
- FAISCEAU ELECTRIQUE
- COMPTEUR
- ECLAIRAGE
- KIT DECO
- RESERVOIR CADRE TWIN
- ECHAPPEMENT TWIN
- AMORTISSEUR
- CYLINDRE CARTERS
- SOUPAPES
- DISTRIBUTION
- EMBIELLAGE
- LUBRIFICATION
- EMBRAYAGE
- SELECTION
- BOITE DE VITESSE
- KICK
- ALLUMAGE
- CORPS INJECTION
- PARAMANI CIRCUIT S.MOT.P4 CPL BLU
- SMK-450Fi-4T 2021
- GUIDON
- FREIN AV
- FOURCHE MARZOCCHI
- FOURCHE KAYABA
- ROUE AV
- ROUE AV 16 pouces
- RADIATEURS
- FILTRE A AIR
- CHASSIS
- PLASTIQUES
- RESERVOIR
- BRAS OSCILLANT
- BIELLETTES
- ROUE AR
- FREIN AR
- ECHAPPEMENT
- FAISCEAU ELECTRIQUE DEMARREUR
- FAISCEAU ELECTRIQUE KICK
- KIT DECO
- AMORTISSEUR
- CYLINDRE CARTERS
- SOUPAPES
- DISTRIBUTION
- EMBIELLAGE DEMARREUR
- EMBIELLAGE KICK
- LUBRIFICATION
- EMBRAYAGE
- SELECTION
- BOITE DE VITESSE
- KICK
- ALLUMAGE DEMARREUR
- ALLUMAGE KICK
- CORPS INJECTION
- PARAMANI CIRCUIT S.MOT.P4 CPL BLU
- SMX-450Fi-4T 2021
- GUIDON
- FREIN AV
- FOURCHE MARZOCCHI
- FOURCHE KAYABA
- ROUE AV
- ROUE AV 16 pouces
- RADIATEURS
- FILTRE A AIR
- CHASSIS
- PLASTIQUES
- RESERVOIR
- BRAS OSCILLANT
- BIELLETTES
- ROUE AR
- FREIN AR
- ECHAPPEMENT
- FAISCEAU ELECTRIQUE DEMARREUR
- FAISCEAU ELECTRIQUE KICK
- KIT DECO
- AMORTISSEUR
- CYLINDRE CARTERS
- SOUPAPES
- DISTRIBUTION
- EMBIELLAGE DEMARREUR
- EMBIELLAGE KICK
- LUBRIFICATION
- EMBRAYAGE
- SELECTION
- BOITE DE VITESSE
- KICK
- ALLUMAGE DEMARREUR
- ALLUMAGE KICK
- CORPS INJECTION
- PARAMANI CIRCUIT S.MOT.P4 CPL BLU
- EN-530Fi-4T 2021
- GUIDON
- FREIN AV
- FOURCHE
- ROUE AV
- RADIATEURS
- FILTRE A AIR
- CHASSIS
- PLASTIQUES
- RESERVOIR
- BRAS OSCILLANT
- BIELLETTES
- ROUE AR
- FREIN AR
- ECHAPPEMENT
- FAISCEAU ELECTRIQUE
- COMPTEUR
- ECLAIRAGE
- KIT DECO
- AMORTISSEUR
- CYLINDRE CARTERS
- SOUPAPES
- DISTRIBUTION
- EMBIELLAGE
- LUBRIFICATION
- EMBRAYAGE
- SELECTION
- BOITE DE VITESSE
- KICK
- ALLUMAGE
- CORPS INJECTION
- MX-530Fi-4T 2021
- SMR-530Fi-4T 2021
- GUIDON
- FREIN AV
- FOURCHE
- ROUE AV
- RADIATEURS
- FILTRE A AIR
- CHASSIS
- PLASTIQUES
- BRAS OSCILLANT
- BIELLETTES
- ROUE AR
- FREIN AR
- FAISCEAU ELECTRIQUE
- ECHAPPEMENT MONO
- ECHAPPEMENT TWIN SMR
- ECHAPPEMENT TWIN SMX
- COMPTEUR
- ECLAIRAGE
- KIT DECO
- AMORTISSEUR
- CYLINDRE CARTERS
- SOUPAPES
- DISTRIBUTION
- EMBIELLAGE
- LUBRIFICATION
- EMBRAYAGE
- SELECTION
- BOITE DE VITESSE
- KICK
- ALLUMAGE
- CORPS INJECTION
- PARAMANI CIRCUIT S.MOT.P4 CPL BLU
- TM Racing 2020
- MX-85-JUNIOR 2020
- SMX-85-JUNIOR 2020
- MX-100-JUNIOR 2020
- SMX-100-JUNIOR 2020
- EN-125Fi 2020
- GUIDON
- FREIN AV
- FOURCHE
- ROUE AV
- RADIATEURS
- RESERVOIR
- CHASSIS
- PLASTIQUES
- FILTRE A AIR
- BRAS OSCILLANT
- BIELLETTES
- ROUE AR
- FREIN AR
- ECHAPPEMENT
- COMPTEUR
- ECLAIRAGE
- LUBRIFICATION
- FAISCEAU ELECTRIQUE
- KIT DECO
- AMORTISSEUR
- CYLINDRE
- INJECTEUR
- COMMANDE VALVES
- EMBIELLAGE
- ALLUMAGE
- CARTER MOTEUR
- EMBRAYAGE
- CARTER EMBRAYAGE
- KICK
- SELECTION
- BOITE DE VITESSE
- CORPS INJECTION
- EN-144 2020
- EN-250Fi-ES-2T 2020
- GUIDON
- FREIN AV
- FOURCHE
- ROUE AV
- RADIATEURS
- VENTILATEUR
- RESERVOIR
- CHASSIS
- PLASTIQUES
- FILTRE A AIR
- BRAS OSCILLANT
- BIELLETTES
- ROUE AR
- FREIN AR
- ECHAPPEMENT
- LUBRIFICATION
- FAISCEAU ELECTRIQUE
- COMPTEUR
- ECLAIRAGE
- KIT DECO
- AMORTISSEUR
- CYLINDRE
- COMMANDE VALVES
- EMBIELLAGE
- CARTER EMBRAYAGE
- EMBRAYAGE
- CARTER MOTEUR
- SELECTION
- BOITE DE VITESSE
- KICK
- ALLUMAGE
- INJECTEUR
- CORPS INJECTION
- EN-300Fi-ES-2T 2020
- GUIDON
- FREIN AV
- FOURCHE
- ROUE AV
- RADIATEURS
- VENTILATEUR
- RESERVOIR
- CHASSIS
- PLASTIQUES
- FILTRE A AIR
- BRAS OSCILLANT
- BIELLETTES
- ROUE AR
- FREIN AR
- ECHAPPEMENT
- LUBRIFICATION
- FAISCEAU ELECTRIQUE
- COMPTEUR
- ECLAIRAGE
- KIT DECO
- AMORTISSEUR
- CYLINDRE
- COMMANDE VALVES
- EMBIELLAGE
- CARTER EMBRAYAGE
- EMBRAYAGE
- CARTER MOTEUR
- SELECTION
- BOITE DE VITESSE
- KICK
- ALLUMAGE
- INJECTEUR
- CORPS INJECTION
- EN-250Fi-ES-4T 2020
- GUIDON
- FREIN AV
- FOURCHE
- ROUE AV
- RADIATEURS
- VENTILATEUR
- FILTRE A AIR
- CHASSIS
- PLASTIQUES
- RESERVOIR
- BRAS OSCILLANT
- BIELLETTES
- ROUE AR
- FREIN AR
- ECHAPPEMENT
- FAISCEAU ELECTRIQUE
- COMPTEUR
- ECLAIRAGE
- KIT DECO
- AMORTISSEUR
- CYLINDRE
- SOUPAPES
- EMBIELLAGE
- DISTRIBUTION
- LUBRIFICATION
- CARTER MOTEUR
- EMBRAYAGE
- SELECTION
- BOITE DE VITESSE
- ALLUMAGE
- CORPS INJECTION
- EN-300Fi-ES-4T 2020
- GUIDON
- FREIN AV
- FOURCHE
- ROUE AV
- RADIATEURS
- VENTILATEUR
- FILTRE A AIR
- CHASSIS
- PLASTIQUES
- RESERVOIR
- BRAS OSCILLANT
- BIELLETTES
- ROUE AR
- FREIN AR
- ECHAPPEMENT
- FAISCEAU ELECTRIQUE
- COMPTEUR
- ECLAIRAGE
- KIT DECO
- AMORTISSEUR
- CYLINDRE
- SOUPAPES
- EMBIELLAGE
- DISTRIBUTION
- LUBRIFICATION
- CARTER MOTEUR
- EMBRAYAGE
- SELECTION
- BOITE DE VITESSE
- KICK
- ALLUMAGE
- CORPS INJECTION
- MX-125 2020
- MX-144 2020
- MX-250-ES 2020
- MX-300-ES 2020
- MX-250Fi-4T 2020
- GUIDON
- FREIN AV
- FOURCHE
- ROUE AV
- RADIATEURS
- FILTRE A AIR
- CHASSIS
- PLASTIQUES
- RESERVOIR
- BRAS OSCILLANT
- BIELLETTES
- ROUE AR
- FREIN AR
- ECHAPPEMENT
- FAISCEAU POUR DEMARREUR
- FAISCEAU POUR KICK
- KIT DECO
- AMORTISSEUR
- CYLINDRE
- SOUPAPES
- EMBIELLAGE
- DISTRIBUTION
- LUBRIFICATION
- CARTER MOTEUR
- EMBRAYAGE ADLER
- EMBRAYAGE
- SELECTION
- BOITE DE VITESSE
- KICK
- ALLUMAGE DEMARREUR
- ALLUMAGE POUR KICK
- CORPS INJECTION
- SMR-125FI 2020
- GUIDON
- FREIN AV
- FOURCHE
- ROUE AV
- RADIATEURS
- RESERVOIR
- CHASSIS
- PLASTIQUES
- FILTRE A AIR
- BRAS OSCILLANT
- BIELLETTES
- ROUE AR
- FREIN AR
- ECHAPPEMENT
- LUBRIFICATION
- FAISCEAU ELECTRIQUE
- COMPTEUR
- ECLAIRAGE
- KIT DECO
- AMORTISSEUR
- CYLINDRE
- INJECTEUR
- COMMANDE VALVES
- EMBIELLAGE
- ALLUMAGE
- CARTER MOTEUR
- EMBRAYAGE
- CARTER EMBRAYAGE
- SELECTION
- BOITE DE VITESSE
- CORPS INJECTION
- PARAMANI CIRCUIT S.MOT.P4 CPL BLU
- SMR-300Fi-2T 2020
- GUIDON
- FREIN AV
- FOURCHE
- ROUE AV
- RADIATEURS
- VENTILATEUR
- RESERVOIR
- CHASSIS
- PLASTIQUES
- FILTRE A AIR
- BRAS OSCILLANT
- BIELLETTES
- ROUE AR
- FREIN AR
- ECHAPPEMENT
- LUBRIFICATION
- FAISCEAU ELECTRIQUE
- COMPTEUR
- ECLAIRAGE
- KIT DECO
- AMORTISSEUR
- CYLINDRE
- COMMANDE VALVES
- EMBIELLAGE
- CARTER EMBRAYAGE
- EMBRAYAGE
- CARTER MOTEUR
- SELECTION
- BOITE DE VITESSE
- KICK
- ALLUMAGE
- INJECTEUR
- CORPS INJECTION
- PARAMANI CIRCUIT S.MOT.P4 CPL BLU
- SMX-300-2T 2020
- GUIDON
- FREIN AV
- FOURCHE MARZOCCHI
- ROUE AV
- RADIATEURS
- RESERVOIR
- CHASSIS
- PLASTIQUES
- FILTRE A AIR
- BRAS OSCILLANT
- BIELLETTES
- ROUE AR
- FREIN AR
- ECHAPPEMENT
- FAISCEAU ELECTRIQUE
- CYLINDRE
- COMMANDE VALVES
- EMBIELLAGE
- CARTER EMBRAYAGE
- EMBRAYAGE
- CARTER MOTEUR
- SELECTION
- BOITE DE VITESSE
- KICK
- ALLUMAGE
- CARBURATEUR
- PARAMANI CIRCUIT S.MOT.P4 CPL BLU
- SMX-250Fi-4T 2020
- GUIDON
- FREIN AV
- FOURCHE MARZOCCHI
- ROUE AV
- RADIATEURS
- FILTRE A AIR
- CHASSIS
- PLASTIQUES
- RESERVOIR
- BRAS OSCILLANT
- BIELLETTES
- ROUE AR
- FREIN AR
- ECHAPPEMENT
- FAISCEAU POUR DEMARREUR
- FAISCEAU POUR KICK
- KIT DECO
- CYLINDRE
- SOUPAPES
- EMBIELLAGE
- DISTRIBUTION
- LUBRIFICATION
- CARTER MOTEUR
- EMBRAYAGE ADLER
- EMBRAYAGE
- SELECTION
- BOITE DE VITESSE
- KICK
- ALLUMAGE DEMARREUR
- ALLUMAGE POUR KICK
- CORPS INJECTION
- PARAMANI CIRCUIT S.MOT.P4 CPL BLU
- MX-300Fi-4T 2020
- GUIDON
- FREIN AV
- FOURCHE
- ROUE AV
- RADIATEURS
- FILTRE A AIR
- CHASSIS
- PLASTIQUES
- RESERVOIR
- BRAS OSCILLANT
- BIELLETTES
- ROUE AR
- FREIN AR
- ECHAPPEMENT
- FAISCEAU ELECTRIQUE
- KIT DECO
- AMORTISSEUR
- CYLINDRE
- SOUPAPES
- EMBIELLAGE
- DISTRIBUTION
- LUBRIFICATION
- CARTER MOTEUR
- EMBRAYAGE
- SELECTION
- BOITE DE VITESSE
- KICK
- ALLUMAGE DEMARREUR
- ALLUMAGE POUR KICK
- CORPS INJECTION
- EN-450Fi-4T 2020
- GUIDON
- FREIN AV
- FOURCHE
- ROUE AV
- RADIATEURS
- FILTRE A AIR
- CHASSIS
- PLASTIQUES
- RESERVOIR
- BRAS OSCILLANT
- BIELLETTES
- ROUE AR
- FREIN AR
- ECHAPPEMENT
- FAISCEAU ELECTRIQUE
- COMPTEUR
- ECLAIRAGE
- KIT DECO
- AMORTISSEUR
- CYLINDRE CARTERS
- SOUPAPES
- DISTRIBUTION
- EMBIELLAGE
- LUBRIFICATION
- EMBRAYAGE
- SELECTION
- BOITE DE VITESSE
- KICK
- ALLUMAGE
- CORPS INJECTION
- FT-450Fi-4T 2020
- GUIDON
- FREIN AV
- FOURCHE
- ROUE AV
- RADIATEURS
- FILTRE A AIR
- CHASSIS
- PLASTIQUES
- RESERVOIR
- BRAS OSCILLANT
- BIELLETTES
- ROUE AR
- FREIN AR
- ECHAPPEMENT
- FAISCEAU ELECTRIQUE
- KIT DECO
- CYLINDRE CARTERS
- SOUPAPES
- DISTRIBUTION
- EMBIELLAGE DEMARREUR
- EMBIELLAGE KICK
- LUBRIFICATION
- EMBRAYAGE
- SELECTION
- BOITE DE VITESSE
- KICK
- ALLUMAGE DEMARREUR
- ALLUMAGE KICK
- MX-450Fi-4T 2020
- GUIDON
- FREIN AV
- FOURCHE
- ROUE AV
- RADIATEURS
- FILTRE A AIR
- CHASSIS
- PLASTIQUES
- RESERVOIR
- BRAS OSCILLANT
- BIELLETTES
- ROUE AR
- FREIN AR
- ECHAPPEMENT
- FAISCEAU ELECTRIQUE
- KIT DECO
- AMORTISSEUR
- CYLINDRE CARTERS
- SOUPAPES
- DISTRIBUTION
- EMBIELLAGE DEMARREUR
- EMBIELLAGE KICK
- LUBRIFICATION
- EMBRAYAGE
- SELECTION
- BOITE DE VITESSE
- KICK
- ALLUMAGE DEMARREUR
- ALLUMAGE KICK
- CORPS INJECTION
- SMR-450Fi-4T 2020
- GUIDON
- FREIN AV
- FOURCHE
- ROUE AV
- RADIATEURS
- FILTRE A AIR
- CHASSIS
- PLASTIQUES
- RESERVOIR
- BRAS OSCILLANT
- BIELLETTES
- ROUE AR
- FREIN AR
- ECHAPPEMENT
- FAISCEAU ELECTRIQUE
- COMPTEUR
- ECLAIRAGE
- KIT DECO
- RESERVOIR CADRE TWIN
- ECHAPPEMENT TWIN
- AMORTISSEUR
- CYLINDRE CARTERS
- SOUPAPES
- DISTRIBUTION
- EMBIELLAGE
- LUBRIFICATION
- EMBRAYAGE
- SELECTION
- BOITE DE VITESSE
- KICK
- ALLUMAGE
- CORPS INJECTION
- SMK-450Fi-4T 2020
- GUIDON
- FREIN AV
- FOURCHE MARZOCCHI
- ROUE AV
- ROUE AV 16 pouces
- RADIATEURS
- FILTRE A AIR
- CHASSIS
- PLASTIQUES
- RESERVOIR
- BRAS OSCILLANT
- BIELLETTES
- ROUE AR
- FREIN AR
- ECHAPPEMENT
- FAISCEAU ELECTRIQUE DEMARREUR
- FAISCEAU ELECTRIQUE KICK
- KIT DECO
- AMORTISSEUR
- CYLINDRE CARTERS
- SOUPAPES
- DISTRIBUTION
- EMBIELLAGE DEMARREUR
- EMBIELLAGE KICK
- LUBRIFICATION
- EMBRAYAGE ADLER
- EMBRAYAGE
- SELECTION
- BOITE DE VITESSE
- KICK
- ALLUMAGE DEMARREUR
- ALLUMAGE KICK
- CORPS INJECTION
- SMX-450Fi-4T 2020
- GUIDON
- FREIN AV
- FOURCHE MARZOCCHI
- ROUE AV
- ROUE AV 16 pouces
- RADIATEURS
- FILTRE A AIR
- CHASSIS
- PLASTIQUES
- RESERVOIR
- BRAS OSCILLANT
- BIELLETTES
- ROUE AR
- FREIN AR
- ECHAPPEMENT
- FAISCEAU ELECTRIQUE DEMARREUR
- FAISCEAU ELECTRIQUE KICK
- KIT DECO
- AMORTISSEUR
- CYLINDRE CARTERS
- SOUPAPES
- DISTRIBUTION
- EMBIELLAGE DEMARREUR
- EMBIELLAGE KICK
- LUBRIFICATION
- EMBRAYAGE ADLER
- EMBRAYAGE
- SELECTION
- BOITE DE VITESSE
- KICK
- ALLUMAGE DEMARREUR
- ALLUMAGE KICK
- CORPS INJECTION
- EN-530Fi-4T 2020
- GUIDON
- FREIN AV
- FOURCHE
- ROUE AV
- RADIATEURS
- FILTRE A AIR
- CHASSIS
- PLASTIQUES
- RESERVOIR
- BRAS OSCILLANT
- BIELLETTES
- ROUE AR
- FREIN AR
- ECHAPPEMENT
- FAISCEAU ELECTRIQUE
- COMPTEUR
- ECLAIRAGE
- KIT DECO
- AMORTISSEUR
- CYLINDRE CARTERS
- SOUPAPES
- DISTRIBUTION
- EMBIELLAGE
- LUBRIFICATION
- EMBRAYAGE
- SELECTION
- BOITE DE VITESSE
- KICK
- ALLUMAGE
- CORPS INJECTION
- MX-530Fi-4T 2020
- SMR-530Fi-4T 2020
- GUIDON
- FREIN AV
- FOURCHE
- ROUE AV
- RADIATEURS
- FILTRE A AIR
- CHASSIS
- PLASTIQUES
- BRAS OSCILLANT
- BIELLETTES
- ROUE AR
- FREIN AR
- FAISCEAU ELECTRIQUE
- ECHAPPEMENT MONO
- ECHAPPEMENT TWIN SMR
- ECHAPPEMENT TWIN SMX
- COMPTEUR
- ECLAIRAGE
- KIT DECO
- AMORTISSEUR
- CYLINDRE CARTERS
- SOUPAPES
- DISTRIBUTION
- EMBIELLAGE
- LUBRIFICATION
- EMBRAYAGE
- SELECTION
- BOITE DE VITESSE
- KICK
- ALLUMAGE
- CORPS INJECTION
- SMX-530Fi-4T 2020
- TM Racing 2019
- MX-85-JUNIOR 2019
- SMX-85-JUNIOR 2019
- MX-100-JUNIOR 2019
- SMX-100-JUNIOR 2019
- EN-125 2019
- MX-125 2019
- SMR-125 2019
- EN-144 2019
- MX-144 2019
- EN-250-ES-2T 2019
- GUIDON
- FREIN AV
- FOURCHE
- ROUE AV
- RADIATEURS
- VENTILATEUR
- RESERVOIR
- CHASSIS
- PLASTIQUES
- FILTRE A AIR
- BRAS OSCILLANT
- BIELLETTES
- ROUE AR
- FREIN AR
- ECHAPPEMENT
- FAISCEAU ELECTRIQUE
- COMPTEUR
- ECLAIRAGE
- KIT DECO
- AMORTISSEUR
- CYLINDRE
- COMMANDE VALVES
- EMBIELLAGE
- CARTER EMBRAYAGE
- EMBRAYAGE
- CARTER MOTEUR
- SELECTION
- BOITE DE VITESSE
- KICK
- ALLUMAGE
- CARBURATEUR
- EN-250Fi-ES-2T 2019
- GUIDON
- FREIN AV
- FOURCHE
- ROUE AV
- VENTILATEUR
- RADIATEURS
- RESERVOIR
- CHASSIS
- PLASTIQUES
- FILTRE A AIR
- BRAS OSCILLANT
- BIELLETTES
- ROUE AR
- FREIN AR
- ECHAPPEMENT
- LUBRIFICATION
- FAISCEAU ELECTRIQUE
- COMPTEUR
- ECLAIRAGE
- KIT DECO
- AMORTISSEUR
- CYLINDRE
- COMMANDE VALVES
- EMBIELLAGE
- CARTER EMBRAYAGE
- EMBRAYAGE
- CARTER MOTEUR
- SELECTION
- BOITE DE VITESSE
- KICK
- ALLUMAGE
- INJECTEUR
- CORPS INJECTION
- MX-250-ES 2019
- EN-300-ES-2T 2019
- GUIDON
- FREIN AV
- FOURCHE
- ROUE AV
- RADIATEURS
- VENTILATEUR
- RESERVOIR
- CHASSIS
- PLASTIQUES
- FILTRE A AIR
- BRAS OSCILLANT
- BIELLETTES
- ROUE AR
- FREIN AR
- ECHAPPEMENT
- FAISCEAU ELECTRIQUE
- COMPTEUR
- ECLAIRAGE
- KIT DECO
- AMORTISSEUR
- CYLINDRE
- COMMANDE VALVES
- EMBIELLAGE
- CARTER EMBRAYAGE
- EMBRAYAGE
- CARTER MOTEUR
- SELECTION
- BOITE DE VITESSE
- KICK
- ALLUMAGE
- CARBURATEUR
- EN-300Fi-ES-2T 2019
- GUIDON
- FREIN AV
- FOURCHE
- ROUE AV
- VENTILATEUR
- RADIATEURS
- RESERVOIR
- CHASSIS
- PLASTIQUES
- FILTRE A AIR
- BRAS OSCILLANT
- BIELLETTES
- ROUE AR
- FREIN AR
- ECHAPPEMENT
- LUBRIFICATION
- FAISCEAU ELECTRIQUE
- COMPTEUR
- KIT DECO
- AMORTISSEUR
- CYLINDRE
- COMMANDE VALVES
- EMBIELLAGE
- CARTER EMBRAYAGE
- EMBRAYAGE
- CARTER MOTEUR
- SELECTION
- BOITE DE VITESSE
- KICK
- ALLUMAGE
- INJECTEUR
- CORPS INJECTION
- MX-300-ES 2019
- EN-250Fi-TWIN-ES-4T 2019
- GUIDON
- FREIN AV
- FOURCHE
- ROUE AV
- VENTILATEUR
- RADIATEURS
- FILTRE A AIR
- CHASSIS
- PLASTIQUES
- RESERVOIR
- BRAS OSCILLANT
- BIELLETTES
- ROUE AR
- FREIN AR
- ECHAPPEMENT
- FAISCEAU ELECTRIQUE
- COMPTEUR
- ECLAIRAGE
- KIT DECO
- AMORTISSEUR
- CYLINDRE
- SOUPAPES
- EMBIELLAGE
- DISTRIBUTION
- LUBRIFICATION
- CARTER MOTEUR
- EMBRAYAGE
- SELECTION
- BOITE DE VITESSE
- ALLUMAGE
- CORPS INJECTION
- EN-250Fi-ES-4T 2019
- GUIDON
- FREIN AV
- FOURCHE
- ROUE AV
- RADIATEURS
- FILTRE A AIR
- CHASSIS
- PLASTIQUES
- RESERVOIR
- BRAS OSCILLANT
- BIELLETTES
- ROUE AR
- FREIN AR
- ECHAPPEMENT
- FAISCEAU ELECTRIQUE
- COMPTEUR
- ECLAIRAGE
- KIT DECO
- AMORTISSEUR
- CYLINDRE
- EMBIELLAGE
- SOUPAPES
- DISTRIBUTION
- LUBRIFICATION
- CARTER MOTEUR
- EMBRAYAGE
- SELECTION
- BOITE DE VITESSE
- ALLUMAGE
- CORPS INJECTION
- MX-250Fi-4T 2019
- GUIDON
- FREIN AV
- FOURCHE
- ROUE AV
- RADIATEURS
- FILTRE A AIR
- CHASSIS
- PLASTIQUES
- RESERVOIR
- BRAS OSCILLANT
- BIELLETTES
- ROUE AR
- FREIN AR
- ECHAPPEMENT
- FAISCEAU POUR DEMARREUR
- FAISCEAU POUR KICK
- KIT DECO
- AMORTISSEUR
- CYLINDRE
- SOUPAPES
- EMBIELLAGE
- DISTRIBUTION
- LUBRIFICATION
- CARTER MOTEUR
- EMBRAYAGE ADLER
- EMBRAYAGE
- SELECTION
- BOITE DE VITESSE
- KICK
- ALLUMAGE DEMARREUR
- ALLUMAGE POUR KICK
- CORPS INJECTION
- SMX-250Fi-4T 2019
- GUIDON
- FREIN AV
- FOURCHE MARZOCCHI
- ROUE AV
- RADIATEURS
- FILTRE A AIR
- CHASSIS
- PLASTIQUES
- RESERVOIR
- BRAS OSCILLANT
- BIELLETTES
- ROUE AR
- FREIN AR
- ECHAPPEMENT
- FAISCEAU POUR DEMARREUR
- FAISCEAU POUR KICK
- KIT DECO
- CYLINDRE
- SOUPAPES
- EMBIELLAGE
- DISTRIBUTION
- LUBRIFICATION
- CARTER MOTEUR
- EMBRAYAGE ADLER
- EMBRAYAGE
- SELECTION
- BOITE DE VITESSE
- KICK
- ALLUMAGE DEMARREUR
- ALLUMAGE POUR KICK
- CORPS INJECTION
- EN-300Fi-ES-4T 2019
- GUIDON
- FREIN AV
- FOURCHE
- ROUE AV
- RADIATEURS
- FILTRE A AIR
- CHASSIS
- PLASTIQUES
- RESERVOIR
- BRAS OSCILLANT
- BIELLETTES
- ROUE AR
- FREIN AR
- ECHAPPEMENT
- FAISCEAU ELECTRIQUE
- COMPTEUR
- ECLAIRAGE
- KIT DECO
- AMORTISSEUR
- CYLINDRE
- EMBIELLAGE
- SOUPAPES
- DISTRIBUTION
- LUBRIFICATION
- CARTER MOTEUR
- EMBRAYAGE
- SELECTION
- BOITE DE VITESSE
- KICK
- ALLUMAGE
- CORPS INJECTION
- MX-300Fi-4T 2019
- GUIDON
- FREIN AV
- FOURCHE
- ROUE AV
- RADIATEURS
- FILTRE A AIR
- CHASSIS
- PLASTIQUES
- RESERVOIR
- BRAS OSCILLANT
- BIELLETTES
- ROUE AR
- FREIN AR
- ECHAPPEMENT
- FAISCEAU POUR DEMARREUR
- FAISCEAU POUR KICK
- KIT DECO
- AMORTISSEUR
- CYLINDRE
- EMBIELLAGE
- SOUPAPES
- DISTRIBUTION
- LUBRIFICATION
- CARTER MOTEUR
- EMBRAYAGE
- SELECTION
- BOITE DE VITESSE
- KICK
- ALLUMAGE DEMARREUR
- ALLUMAGE POUR KICK
- CORPS INJECTION
- EN-450Fi-4T 2019
- GUIDON
- FREIN AV
- FOURCHE
- ROUE AV
- RADIATEURS
- FILTRE A AIR
- CHASSIS
- PLASTIQUES
- RESERVOIR
- BRAS OSCILLANT
- BIELLETTES
- ROUE AR
- FREIN AR
- ECHAPPEMENT
- FAISCEAU ELECTRIQUE
- COMPTEUR
- ECLAIRAGE
- KIT DECO
- AMORTISSEUR
- CYLINDRE CARTERS
- SOUPAPES
- DISTRIBUTION
- EMBIELLAGE
- LUBRIFICATION
- EMBRAYAGE
- SELECTION
- BOITE DE VITESSE
- KICK
- ALLUMAGE
- CORPS INJECTION
- FT-450Fi-4T 2019
- GUIDON
- FREIN AV
- FOURCHE
- ROUE AV
- RADIATEURS
- FILTRE A AIR
- CHASSIS
- PLASTIQUES
- RESERVOIR
- BRAS OSCILLANT
- BIELLETTES
- ROUE AR
- FREIN AR
- ECHAPPEMENT
- FAISCEAU POUR DEMARREUR
- FAISCEAU POUR KICK
- KIT DECO
- CYLINDRE CARTERS
- SOUPAPES
- DISTRIBUTION
- EMBIELLAGE DEMARREUR
- EMBIELLAGE KICK
- LUBRIFICATION
- EMBRAYAGE
- SELECTION
- BOITE DE VITESSE
- KICK
- ALLUMAGE DEMARREUR
- ALLUMAGE KICK
- CORPS INJECTION
- MX-450Fi-4T 2019
- GUIDON
- FREIN AV
- FOURCHE
- ROUE AV
- RADIATEURS
- FILTRE A AIR
- CHASSIS
- PLASTIQUES
- RESERVOIR
- BRAS OSCILLANT
- BIELLETTES
- ROUE AR
- FREIN AR
- ECHAPPEMENT
- FAISCEAU POUR DEMARREUR
- FAISCEAU POUR KICK
- KIT DECO
- AMORTISSEUR
- CYLINDRE CARTERS
- SOUPAPES
- DISTRIBUTION
- EMBIELLAGE DEMARREUR
- EMBIELLAGE KICK
- LUBRIFICATION
- EMBRAYAGE
- SELECTION
- BOITE DE VITESSE
- KICK
- ALLUMAGE DEMARREUR
- ALLUMAGE KICK
- CORPS INJECTION
- SMR-450Fi-4T 2019
- SMX-450Fi-4T 2019
- GUIDON
- FREIN AV
- FOURCHE MARZOCCHI
- ROUE AV
- RADIATEURS
- FILTRE A AIR
- CHASSIS
- PLASTIQUES
- RESERVOIR
- BRAS OSCILLANT
- BIELLETTES
- ROUE AR
- FREIN AR
- ECHAPPEMENT
- FAISCEAU ELECTRIQUE DEMARREUR
- FAISCEAU ELECTRIQUE KICK
- KIT DECO
- CYLINDRE CARTERS
- SOUPAPES
- DISTRIBUTION
- EMBIELLAGE DEMARREUR
- EMBIELLAGE KICK
- LUBRIFICATION
- EMBRAYAGE ADLER
- EMBRAYAGE
- SELECTION
- BOITE DE VITESSE
- KICK
- ALLUMAGE DEMARREUR
- ALLUMAGE KICK
- CORPS INJECTION
- SMX-450Fi-4T-V.2 2019
- GUIDON
- FREIN AV
- FOURCHE MARZOCCHI
- ROUE AV
- RADIATEURS
- FILTRE A AIR
- CHASSIS
- PLASTIQUES
- RESERVOIR
- BRAS OSCILLANT
- BIELLETTES
- ROUE AR
- FREIN AR
- ECHAPPEMENT
- FAISCEAU ELECTRIQUE DEMARREUR
- FAISCEAU ELECTRIQUE KICK
- KIT DECO
- CYLINDRE CARTERS
- SOUPAPES
- DISTRIBUTION
- EMBIELLAGE DEMARREUR
- EMBIELLAGE KICK
- LUBRIFICATION
- EMBRAYAGE ADLER
- EMBRAYAGE
- SELECTION
- BOITE DE VITESSE
- KICK
- ALLUMAGE DEMARREUR
- ALLUMAGE KICK
- CORPS INJECTION
- EN-530Fi-4T 2019
- GUIDON
- FREIN AV
- FOURCHE
- ROUE AV
- RADIATEURS
- FILTRE A AIR
- CHASSIS
- PLASTIQUES
- RESERVOIR
- BRAS OSCILLANT
- BIELLETTES
- ROUE AR
- FREIN AR
- ECHAPPEMENT
- FAISCEAU ELECTRIQUE
- COMPTEUR
- ECLAIRAGE
- KIT DECO
- AMORTISSEUR
- CYLINDRE CARTERS
- SOUPAPES
- DISTRIBUTION
- EMBIELLAGE
- LUBRIFICATION
- EMBRAYAGE
- SELECTION
- BOITE DE VITESSE
- KICK
- ALLUMAGE
- CORPS INJECTION
- MX-530Fi-4T 2019
- GUIDON
- FREIN AV
- FOURCHE
- ROUE AV
- RADIATEURS
- FILTRE A AIR
- CHASSIS
- PLASTIQUES
- RESERVOIR
- BRAS OSCILLANT
- BIELLETTES
- ROUE AR
- FREIN AR
- ECHAPPEMENT
- FAISCEAU POUR DEMARREUR
- FAISCEAU POUR KICK
- KIT DECO
- AMORTISSEUR
- CYLINDRE CARTERS
- SOUPAPES
- DISTRIBUTION
- EMBIELLAGE
- LUBRIFICATION
- EMBRAYAGE
- SELECTION
- BOITE DE VITESSE
- KICK
- ALLUMAGE DEMARREUR
- ALLUMAGE KICK
- CORPS INJECTION
- SMR-530Fi-4T 2019
- SMX-530Fi-4T 2019
- GUIDON
- FREIN AV
- FOURCHE MARZOCCHI
- ROUE AV
- RADIATEURS
- FILTRE A AIR
- CHASSIS
- PLASTIQUES
- RESERVOIR
- BRAS OSCILLANT
- BIELLETTES
- ROUE AR
- FREIN AR
- ECHAPPEMENT
- FAISCEAU ELECTRIQUE
- KIT DECO
- CYLINDRE CARTERS
- SOUPAPES
- DISTRIBUTION
- EMBIELLAGE
- LUBRIFICATION
- EMBRAYAGE
- SELECTION
- BOITE DE VITESSE
- KICK
- ALLUMAGE DEMARREUR
- ALLUMAGE KICK
- CORPS INJECTION
- TM Racing 2018
- MX-85-JUNIOR 2018
- SMX-85-JUNIOR 2018
- MX-85 2018
- MX-100-JUNIOR 2018
- EN-85 2018
- EN-125 2018
- MX-125 2018
- EN-144 2018
- MX-144 2018
- EN-250-2T 2018
- MX-250-2T 2018
- EN-300-2T 2018
- MX-300-2T 2018
- EN-250Fi-ES-4T 2018
- GUIDON
- FREIN AV
- FOURCHE
- ROUE AV
- RADIATEURS
- FILTRE A AIR
- CHASSIS
- PLASTIQUES
- RESERVOIR
- BRAS OSCILLANT
- BIELLETTES
- ROUE AR
- FREIN AR
- ECHAPPEMENT
- FAISCEAU ELECTRIQUE
- COMPTEUR
- ECLAIRAGE
- KIT DECO
- AMORTISSEUR
- CYLINDRE
- EMBIELLAGE
- SOUPAPES
- DISTRIBUTION
- LUBRIFICATION
- CARTER MOTEUR
- EMBRAYAGE
- SELECTION
- BOITE DE VITESSE
- ALLUMAGE
- CORPS INJECTION
- MX-250Fi-4T-TWIN 2018
- GUIDON
- FREIN AV
- FOURCHE
- ROUE AV
- RADIATEURS
- FILTRE A AIR
- CHASSIS
- PLASTIQUES
- RESERVOIR
- BRAS OSCILLANT
- BIELLETTES
- ROUE AR
- FREIN AR
- ECHAPPEMENT
- FAISCEAU POUR DEMARREUR
- FAISCEAU POUR KICK
- KIT DECO
- AMORTISSEUR
- CYLINDRE
- SOUPAPES
- EMBIELLAGE
- DISTRIBUTION
- LUBRIFICATION
- CARTER MOTEUR
- EMBRAYAGE ADLER
- EMBRAYAGE
- SELECTION
- BOITE DE VITESSE
- KICK
- ALLUMAGE DEMARREUR
- ALLUMAGE POUR KICK
- CORPS INJECTION
- SMX-250Fi-4T-TWIN 2018
- GUIDON
- FREIN AV
- FOURCHE MARZOCCHI
- ROUE AV
- RADIATEURS
- FILTRE A AIR
- CHASSIS
- PLASTIQUES
- RESERVOIR
- BRAS OSCILLANT
- BIELLETTES
- ROUE AR
- FREIN AR
- ECHAPPEMENT
- FAISCEAU POUR DEMARREUR
- FAISCEAU POUR KICK
- KIT DECO
- CYLINDRE
- SOUPAPES
- EMBIELLAGE
- DISTRIBUTION
- LUBRIFICATION
- CARTER MOTEUR
- EMBRAYAGE ADLER
- EMBRAYAGE
- SELECTION
- BOITE DE VITESSE
- ALLUMAGE DEMARREUR
- ALLUMAGE POUR KICK
- CORPS INJECTION
- EN-300Fi-ES-4T 2018
- GUIDON
- FREIN AV
- FOURCHE
- ROUE AV
- RADIATEURS
- FILTRE A AIR
- CHASSIS
- PLASTIQUES
- RESERVOIR
- BRAS OSCILLANT
- BIELLETTES
- ROUE AR
- FREIN AR
- ECHAPPEMENT
- FAISCEAU ELECTRIQUE
- COMPTEUR
- ECLAIRAGE
- KIT DECO
- AMORTISSEUR
- CYLINDRE
- EMBIELLAGE
- SOUPAPES
- DISTRIBUTION
- LUBRIFICATION
- CARTER MOTEUR
- EMBRAYAGE
- SELECTION
- BOITE DE VITESSE
- KICK
- ALLUMAGE
- CORPS INJECTION
- MX-300Fi-4T 2018
- GUIDON
- FREIN AV
- FOURCHE
- ROUE AV
- RADIATEURS
- FILTRE A AIR
- CHASSIS
- PLASTIQUES
- RESERVOIR
- BRAS OSCILLANT
- BIELLETTES
- ROUE AR
- FREIN AR
- ECHAPPEMENT
- FAISCEAU POUR DEMARREUR
- FAISCEAU POUR KICK
- KIT DECO
- AMORTISSEUR
- CYLINDRE
- EMBIELLAGE
- SOUPAPES
- DISTRIBUTION
- LUBRIFICATION
- CARTER MOTEUR
- EMBRAYAGE
- SELECTION
- BOITE DE VITESSE
- KICK
- ALLUMAGE DEMARREUR
- ALLUMAGE POUR KICK
- CORPS INJECTION
- EN-450Fi-4T 2018
- GUIDON
- FREIN AV
- FOURCHE
- ROUE AV
- RADIATEURS
- FILTRE A AIR
- CHASSIS
- PLASTIQUES
- RESERVOIR
- BRAS OSCILLANT
- BIELLETTES
- ROUE AR
- FREIN AR
- ECHAPPEMENT
- FAISCEAU ELECTRIQUE
- COMPTEUR
- ECLAIRAGE
- KIT DECO
- AMORTISSEUR
- CYLINDRE CARTERS
- SOUPAPES
- DISTRIBUTION
- EMBIELLAGE
- LUBRIFICATION
- EMBRAYAGE
- SELECTION
- BOITE DE VITESSE
- KICK
- ALLUMAGE
- CORPS INJECTION
- FT-450Fi-4T 2018
- GUIDON
- FREIN AV
- FOURCHE
- ROUE AV
- RADIATEURS
- FILTRE A AIR
- CHASSIS
- PLASTIQUES
- RESERVOIR
- BRAS OSCILLANT
- BIELLETTES
- ROUE AR
- FREIN AR
- ECHAPPEMENT
- FAISCEAU POUR DEMARREUR
- FAISCEAU POUR KICK
- KIT DECO
- CYLINDRE CARTERS
- SOUPAPES
- DISTRIBUTION
- EMBIELLAGE DEMARREUR
- EMBIELLAGE KICK
- LUBRIFICATION
- EMBRAYAGE
- SELECTION
- BOITE DE VITESSE
- KICK
- ALLUMAGE DEMARREUR
- ALLUMAGE KICK
- CORPS INJECTION
- MX-450Fi-4T 2018
- GUIDON
- FREIN AV
- FOURCHE
- ROUE AV
- RADIATEURS
- FILTRE A AIR
- CHASSIS
- PLASTIQUES
- RESERVOIR
- BRAS OSCILLANT
- BIELLETTES
- ROUE AR
- FREIN AR
- ECHAPPEMENT
- FAISCEAU POUR DEMARREUR
- FAISCEAU POUR KICK
- KIT DECO
- AMORTISSEUR
- CYLINDRE CARTERS
- SOUPAPES
- DISTRIBUTION
- EMBIELLAGE DEMARREUR
- EMBIELLAGE KICK
- LUBRIFICATION
- EMBRAYAGE
- SELECTION
- BOITE DE VITESSE
- KICK
- ALLUMAGE DEMARREUR
- ALLUMAGE KICK
- CORPS INJECTION
- SMR-450Fi-4T 2018
- SMX-450Fi-4T 2018
- GUIDON
- FREIN AV
- FOURCHE MARZOCCHI
- ROUE AV
- RADIATEURS
- FILTRE A AIR
- CHASSIS
- PLASTIQUES
- RESERVOIR
- BRAS OSCILLANT
- BIELLETTES
- ROUE AR
- FREIN AR
- ECHAPPEMENT
- FAISCEAU ELECTRIQUE DEMARREUR
- FAISCEAU ELECTRIQUE KICK
- CYLINDRE CARTERS
- SOUPAPES
- DISTRIBUTION
- EMBIELLAGE DEMARREUR
- EMBIELLAGE KICK
- LUBRIFICATION
- EMBRAYAGE ADLER
- EMBRAYAGE
- SELECTION
- BOITE DE VITESSE
- KICK
- ALLUMAGE DEMARREUR
- ALLUMAGE KICK
- CORPS INJECTION
- EN-530Fi-4T 2018
- GUIDON
- FREIN AV
- FOURCHE
- ROUE AV
- RADIATEURS
- FILTRE A AIR
- CHASSIS
- PLASTIQUES
- RESERVOIR
- BRAS OSCILLANT
- BIELLETTES
- ROUE AR
- FREIN AR
- ECHAPPEMENT
- FAISCEAU ELECTRIQUE
- COMPTEUR
- ECLAIRAGE
- KIT DECO
- AMORTISSEUR
- CYLINDRE CARTERS
- SOUPAPES
- DISTRIBUTION
- EMBIELLAGE
- LUBRIFICATION
- EMBRAYAGE
- SELECTION
- BOITE DE VITESSE
- KICK
- ALLUMAGE
- CORPS INJECTION
- MX-530Fi-4T 2018
- GUIDON
- FREIN AV
- FOURCHE
- ROUE AV
- RADIATEURS
- FILTRE A AIR
- CHASSIS
- PLASTIQUES
- RESERVOIR
- BRAS OSCILLANT
- BIELLETTES
- ROUE AR
- FREIN AR
- ECHAPPEMENT
- FAISCEAU POUR DEMARREUR
- FAISCEAU POUR KICK
- KIT DECO
- AMORTISSEUR
- CYLINDRE CARTERS
- SOUPAPES
- DISTRIBUTION
- EMBIELLAGE
- LUBRIFICATION
- EMBRAYAGE
- SELECTION
- BOITE DE VITESSE
- KICK
- ALLUMAGE DEMARREUR
- ALLUMAGE KICK
- CORPS INJECTION
- SMR-530Fi-4T 2018
- SMX-530Fi-4T 2018
- TM Racing 2017
- MX-85-JUNIOR 2017
- SMX-85-JUNIOR 2017
- MX-85 2017
- MX-100-JUNIOR 2017
- MX-100 2017
- EN-125 2017
- MX-125 2017
- EN-144 2017
- MX-144 2017
- EN-250-2T 2017
- MX-250-2T 2017
- EN-300-2T 2017
- MX-300-2T 2017
- EN-250Fi-ES-4T 2017
- GUIDON
- FREIN AV
- FOURCHE
- ROUE AV
- RADIATEURS
- FILTRE A AIR
- CHASSIS
- PLASTIQUES
- RESERVOIR
- BRAS OSCILLANT
- BIELLETTES
- ROUE AR
- FREIN AR
- ECHAPPEMENT
- FAISCEAU ELECTRIQUE
- COMPTEUR
- ECLAIRAGE
- KIT DECO
- AMORTISSEUR
- CYLINDRE
- EMBIELLAGE
- SOUPAPES
- DISTRIBUTION
- LUBRIFICATION
- CARTER MOTEUR
- EMBRAYAGE
- SELECTION
- BOITE DE VITESSE
- ALLUMAGE
- CORPS INJECTION
- MX-250Fi-4T 2017
- GUIDON
- FREIN AV
- FOURCHE
- ROUE AV
- RADIATEURS
- FILTRE A AIR
- CHASSIS
- PLASTIQUES
- RESERVOIR
- BRAS OSCILLANT
- BIELLETTES
- ROUE AR
- FREIN AR
- ECHAPPEMENT
- FAISCEAU POUR DEMARREUR
- FAISCEAU POUR KICK
- KIT DECO
- AMORTISSEUR
- CYLINDRE
- EMBIELLAGE
- SOUPAPES
- DISTRIBUTION
- LUBRIFICATION
- CARTER MOTEUR
- EMBRAYAGE
- SELECTION
- BOITE DE VITESSE
- ALLUMAGE DEMARREUR
- ALLUMAGE POUR KICK
- CORPS INJECTION
- EN-300Fi-ES-4T 2017
- GUIDON
- FREIN AV
- FOURCHE
- ROUE AV
- RADIATEURS
- FILTRE A AIR
- CHASSIS
- PLASTIQUES
- RESERVOIR
- BRAS OSCILLANT
- BIELLETTES
- ROUE AR
- FREIN AR
- ECHAPPEMENT
- FAISCEAU ELECTRIQUE
- COMPTEUR
- ECLAIRAGE
- KIT DECO
- AMORTISSEUR
- CYLINDRE
- EMBIELLAGE
- SOUPAPES
- DISTRIBUTION
- LUBRIFICATION
- CARTER MOTEUR
- EMBRAYAGE
- SELECTION
- BOITE DE VITESSE
- KICK
- ALLUMAGE
- CORPS INJECTION
- MX-300Fi-4T 2017
- GUIDON
- FREIN AV
- FOURCHE
- ROUE AV
- RADIATEURS
- FILTRE A AIR
- CHASSIS
- PLASTIQUES
- RESERVOIR
- BRAS OSCILLANT
- BIELLETTES
- ROUE AR
- FREIN AR
- ECHAPPEMENT
- FAISCEAU POUR DEMARREUR
- FAISCEAU POUR KICK
- KIT DECO
- AMORTISSEUR
- CYLINDRE
- EMBIELLAGE
- SOUPAPES
- DISTRIBUTION
- LUBRIFICATION
- CARTER MOTEUR
- EMBRAYAGE
- SELECTION
- BOITE DE VITESSE
- KICK
- ALLUMAGE DEMARREUR
- ALLUMAGE POUR KICK
- CORPS INJECTION
- EN-450Fi-4T 2017
- GUIDON
- FREIN AV
- FOURCHE
- ROUE AV
- RADIATEURS
- FILTRE A AIR
- CHASSIS
- PLASTIQUES
- RESERVOIR
- BRAS OSCILLANT
- BIELLETTES
- ROUE AR
- FREIN AR
- ECHAPPEMENT
- FAISCEAU ELECTRIQUE
- COMPTEUR
- ECLAIRAGE
- KIT DECO
- AMORTISSEUR
- CYLINDRE CARTERS
- SOUPAPES
- DISTRIBUTION
- EMBIELLAGE
- LUBRIFICATION
- EMBRAYAGE
- SELECTION
- BOITE DE VITESSE
- KICK
- ALLUMAGE
- CORPS INJECTION
- FT-450Fi-4T 2017
- GUIDON
- FREIN AV
- FOURCHE
- ROUE AV
- RADIATEURS
- FILTRE A AIR
- CHASSIS
- PLASTIQUES
- RESERVOIR
- BRAS OSCILLANT
- BIELLETTES
- ROUE AR
- FREIN AR
- ECHAPPEMENT
- FAISCEAU POUR DEMARREUR
- FAISCEAU POUR KICK
- KIT DECO
- CYLINDRE CARTERS
- SOUPAPES
- DISTRIBUTION
- EMBIELLAGE DEMARREUR
- EMBIELLAGE KICK
- LUBRIFICATION
- EMBRAYAGE
- SELECTION
- BOITE DE VITESSE
- KICK
- ALLUMAGE DEMARREUR
- ALLUMAGE KICK
- CORPS INJECTION
- MX-450Fi-4T 2017
- GUIDON
- FREIN AV
- FOURCHE
- ROUE AV
- RADIATEURS
- FILTRE A AIR
- CHASSIS
- PLASTIQUES
- RESERVOIR
- BRAS OSCILLANT
- BIELLETTES
- ROUE AR
- FREIN AR
- ECHAPPEMENT
- FAISCEAU POUR DEMARREUR
- FAISCEAU POUR KICK
- KIT DECO
- AMORTISSEUR
- CYLINDRE CARTERS
- SOUPAPES
- DISTRIBUTION
- EMBIELLAGE DEMARREUR
- EMBIELLAGE KICK
- LUBRIFICATION
- EMBRAYAGE
- SELECTION
- BOITE DE VITESSE
- KICK
- ALLUMAGE DEMARREUR
- ALLUMAGE KICK
- CORPS INJECTION
- SMR-450Fi-4T 2017
- SMX-450Fi-4T 2017
- GUIDON
- FREIN AV
- FOURCHE MARZOCCHI
- ROUE AV
- RADIATEURS
- FILTRE A AIR
- CHASSIS
- PLASTIQUES
- RESERVOIR
- BRAS OSCILLANT
- BIELLETTES
- ROUE AR
- FREIN AR
- ECHAPPEMENT
- FAISCEAU ELECTRIQUE DEMARREUR
- FAISCEAU ELECTRIQUE KICK
- CYLINDRE CARTERS
- SOUPAPES
- DISTRIBUTION
- EMBIELLAGE DEMARREUR
- EMBIELLAGE KICK
- LUBRIFICATION
- EMBRAYAGE ADLER
- EMBRAYAGE
- SELECTION
- BOITE DE VITESSE
- KICK
- ALLUMAGE DEMARREUR
- ALLUMAGE KICK
- CORPS INJECTION
- EN-530Fi-4T 2017
- GUIDON
- FREIN AV
- FOURCHE
- ROUE AV
- RADIATEURS
- FILTRE A AIR
- CHASSIS
- PLASTIQUES
- RESERVOIR
- BRAS OSCILLANT
- BIELLETTES
- ROUE AR
- FREIN AR
- ECHAPPEMENT
- FAISCEAU ELECTRIQUE
- COMPTEUR
- ECLAIRAGE
- KIT DECO
- AMORTISSEUR
- CYLINDRE CARTERS
- SOUPAPES
- DISTRIBUTION
- EMBIELLAGE
- LUBRIFICATION
- EMBRAYAGE
- SELECTION
- BOITE DE VITESSE
- KICK
- ALLUMAGE
- CORPS INJECTION
- MX-530Fi-4T 2017
- GUIDON
- FREIN AV
- FOURCHE
- ROUE AV
- RADIATEURS
- FILTRE A AIR
- CHASSIS
- PLASTIQUES
- RESERVOIR
- BRAS OSCILLANT
- BIELLETTES
- ROUE AR
- FREIN AR
- ECHAPPEMENT
- FAISCEAU POUR DEMARREUR
- FAISCEAU POUR KICK
- KIT DECO
- AMORTISSEUR
- CYLINDRE CARTERS
- SOUPAPES
- DISTRIBUTION
- EMBIELLAGE
- LUBRIFICATION
- EMBRAYAGE
- SELECTION
- BOITE DE VITESSE
- KICK
- ALLUMAGE DEMARREUR
- ALLUMAGE KICK
- CORPS INJECTION
- SMR-530Fi-4T 2017
- SMX-530Fi-4T 2017
- TM Racing 2016
- MX-85-JUNIOR 2016
- SMX-85-JUNIOR 2016
- MX-85 2016
- MX-100-JUNIOR 2016
- EN-125 2016
- MX-125 2016
- EN-144 2016
- MX-144 2016
- EN-250-2T 2016
- MX-250-2T 2016
- EN-300-2T 2016
- MX-300-2T 2016
- EN-250Fi-ES-4T 2016
- MX-250Fi-4T 2016
- GUIDON
- FREIN AV
- FOURCHE
- ROUE AV
- RADIATEURS
- FILTRE A AIR
- CHASSIS
- PLASTIQUES
- RESERVOIR
- BRAS OSCILLANT
- BIELLETTES
- ROUE AR
- FREIN AR
- ECHAPPEMENT
- FAISCEAU POUR DEMARREUR
- FAISCEAU POUR KICK
- AMORTISSEUR
- CYLINDRE
- EMBIELLAGE
- SOUPAPES
- DISTRIBUTION
- LUBRIFICATION
- CARTER MOTEUR
- EMBRAYAGE
- SELECTION
- BOITE DE VITESSE
- ALLUMAGE DEMARREUR
- ALLUMAGE POUR KICK
- CORPS INJECTION
- EN-450Fi-4T 2016
- MX-450Fi-4T 2016
- GUIDON
- FREIN AV
- FOURCHE
- ROUE AV
- RADIATEURS
- FILTRE A AIR
- CHASSIS
- PLASTIQUES
- RESERVOIR
- BRAS OSCILLANT
- BIELLETTES
- ROUE AR
- FREIN AR
- ECHAPPEMENT
- FAISCEAU POUR DEMARREUR
- FAISCEAU POUR KICK
- AMORTISSEUR
- CYLINDRE CARTERS
- SOUPAPES
- DISTRIBUTION
- EMBIELLAGE DEMARREUR
- EMBIELLAGE KICK
- LUBRIFICATION
- EMBRAYAGE
- SELECTION
- BOITE DE VITESSE
- KICK
- ALLUMAGE DEMARREUR
- ALLUMAGE KICK
- CORPS INJECTION
- SMR-450Fi-4T 2016
- SMX-450Fi-4T 2016
- GUIDON
- FREIN AV
- FOURCHE MARZOCCHI
- ROUE AV
- RADIATEURS
- FILTRE A AIR
- CHASSIS
- PLASTIQUES
- RESERVOIR
- BRAS OSCILLANT
- BIELLETTES
- ROUE AR
- FREIN AR
- ECHAPPEMENT
- FAISCEAU ELECTRIQUE DEMARREUR
- FAISCEAU ELECTRIQUE KICK
- CYLINDRE CARTERS
- SOUPAPES
- DISTRIBUTION
- EMBIELLAGE DEMARREUR
- EMBIELLAGE KICK
- LUBRIFICATION
- EMBRAYAGE ADLER
- EMBRAYAGE
- SELECTION
- BOITE DE VITESSE
- KICK
- ALLUMAGE DEMARREUR
- ALLUMAGE KICK
- CORPS INJECTION
- EN-530Fi-4T 2016
- MX-530Fi-4T 2016
- GUIDON
- FREIN AV
- FOURCHE
- ROUE AV
- RADIATEURS
- FILTRE A AIR
- CHASSIS
- PLASTIQUES
- RESERVOIR
- BRAS OSCILLANT
- BIELLETTES
- ROUE AR
- FREIN AR
- ECHAPPEMENT
- FAISCEAU POUR DEMARREUR
- FAISCEAU POUR KICK
- AMORTISSEUR
- CYLINDRE CARTERS
- SOUPAPES
- DISTRIBUTION
- EMBIELLAGE
- LUBRIFICATION
- EMBRAYAGE
- SELECTION
- BOITE DE VITESSE
- KICK
- ALLUMAGE DEMARREUR
- ALLUMAGE KICK
- CORPS INJECTION
- SMR-530Fi-4T 2016
- SMX-530Fi-4T 2016
- TM Racing 2015
- MX-85-JUNIOR 2015
- MX-85 2015
- MX-100-JUNIOR 2015
- MX-100 2015
- EN-125 2015
- MX-125 2015
- EN-144 2015
- MX-144 2015
- EN-250-2T 2015
- MX-250-2T 2015
- EN-300-2T 2015
- MX-300-2T 2015
- EN-250Fi-ES-4T 2015
- GUIDON
- FREIN AV
- FOURCHE
- FOURCHE MARZOCCHI
- ROUE AV
- RADIATEURS
- FILTRE A AIR
- CHASSIS
- PLASTIQUES
- RESERVOIR
- BRAS OSCILLANT
- BIELLETTES
- ROUE AR
- FREIN AR
- ECHAPPEMENT
- FAISCEAU ELECTRIQUE
- COMPTEUR
- ECLAIRAGE
- AMORTISSEUR
- CYLINDRE
- EMBIELLAGE
- SOUPAPES
- DISTRIBUTION
- LUBRIFICATION
- CARTER MOTEUR
- EMBRAYAGE
- SELECTION
- BOITE DE VITESSE
- ALLUMAGE
- CORPS INJECTION
- MX-250Fi-4T 2015
- GUIDON
- FREIN AV
- FOURCHE
- FOURCHE MARZOCCHI
- ROUE AV
- RADIATEURS
- FILTRE A AIR
- CHASSIS
- PLASTIQUES
- RESERVOIR
- BRAS OSCILLANT
- BIELLETTES
- ROUE AR
- FREIN AR
- ECHAPPEMENT
- FAISCEAU POUR DEMARREUR
- FAISCEAU POUR KICK
- AMORTISSEUR
- CYLINDRE
- EMBIELLAGE
- SOUPAPES
- DISTRIBUTION
- LUBRIFICATION
- CARTER MOTEUR
- EMBRAYAGE
- SELECTION
- BOITE DE VITESSE
- ALLUMAGE DEMARREUR
- ALLUMAGE POUR KICK
- CORPS INJECTION
- EN-450Fi-4T 2015
- GUIDON
- FREIN AV
- FOURCHE
- FOURCHE MARZOCCHI
- ROUE AV
- RADIATEURS
- FILTRE A AIR
- CHASSIS
- PLASTIQUES
- RESERVOIR
- BRAS OSCILLANT
- BIELLETTES
- ROUE AR
- FREIN AR
- ECHAPPEMENT
- FAISCEAU ELECTRIQUE
- COMPTEUR
- ECLAIRAGE
- AMORTISSEUR
- CYLINDRE CARTERS
- SOUPAPES
- DISTRIBUTION
- EMBIELLAGE
- LUBRIFICATION
- EMBRAYAGE
- SELECTION
- BOITE DE VITESSE
- KICK
- ALLUMAGE
- CORPS INJECTION
- MX-450Fi-4T 2015
- GUIDON
- FREIN AV
- FOURCHE
- FOURCHE MARZOCCHI
- ROUE AV
- RADIATEURS
- FILTRE A AIR
- CHASSIS
- PLASTIQUES
- RESERVOIR
- BRAS OSCILLANT
- BIELLETTES
- ROUE AR
- FREIN AR
- ECHAPPEMENT
- FAISCEAU POUR DEMARREUR
- FAISCEAU POUR KICK
- AMORTISSEUR
- CYLINDRE CARTERS
- SOUPAPES
- DISTRIBUTION
- EMBIELLAGE DEMARREUR
- EMBIELLAGE KICK
- LUBRIFICATION
- EMBRAYAGE
- SELECTION
- BOITE DE VITESSE
- KICK
- ALLUMAGE DEMARREUR
- ALLUMAGE KICK
- CORPS INJECTION
- SMR-450Fi-4T 2015
- SMX-450Fi-4T 2015
- GUIDON
- FREIN AV
- FOURCHE MARZOCCHI
- ROUE AV
- RADIATEURS
- FILTRE A AIR
- CHASSIS
- PLASTIQUES
- RESERVOIR
- BRAS OSCILLANT
- BIELLETTES
- ROUE AR
- FREIN AR
- ECHAPPEMENT
- FAISCEAU ELECTRIQUE DEMARREUR
- FAISCEAU ELECTRIQUE KICK
- CYLINDRE CARTERS
- SOUPAPES
- DISTRIBUTION
- EMBIELLAGE DEMARREUR
- EMBIELLAGE KICK
- LUBRIFICATION
- EMBRAYAGE ADLER
- EMBRAYAGE
- SELECTION
- BOITE DE VITESSE
- KICK
- ALLUMAGE DEMARREUR
- ALLUMAGE KICK
- CORPS INJECTION
- EN-530Fi-4T 2015
- GUIDON
- FREIN AV
- FOURCHE
- FOURCHE MARZOCCHI
- ROUE AV
- RADIATEURS
- FILTRE A AIR
- CHASSIS
- PLASTIQUES
- RESERVOIR
- BRAS OSCILLANT
- BIELLETTES
- ROUE AR
- FREIN AR
- ECHAPPEMENT
- FAISCEAU ELECTRIQUE
- COMPTEUR
- ECLAIRAGE
- AMORTISSEUR
- CYLINDRE CARTERS
- SOUPAPES
- DISTRIBUTION
- EMBIELLAGE
- LUBRIFICATION
- EMBRAYAGE
- SELECTION
- BOITE DE VITESSE
- KICK
- ALLUMAGE
- CORPS INJECTION
- MX-530Fi-4T 2015
- SMR-530Fi-4T 2015
- SMX-530Fi-4T 2015
- TM Racing 2014
- TM Racing 2013
- TM Racing 2011
- TM Racing 2012
- TM Racing 2010
- TM Racing 2009
- TM Racing 2008
- EN-125 2008
- GUIDON
- FREIN AV
- FOURCHE OLHINS ROUE AV
- FOURCHE PAIOLI ROUE AV
- FOURCHE MARZOCCHI ROUE AV
- RADIATEURS
- RESERVOIR
- CHASSIS
- PLASTIQUES
- FILTRE A AIR
- BRAS OSCILLANT
- BIELLETTES
- ROUE AR
- FREIN AR
- ECHAPPEMENT
- COMPTEUR
- CYLINDRE
- EMBIELLAGE
- ALLUMAGE
- EMBRAYAGE
- CARTER EMBRAYAGE
- COMMANDE VALVES
- CARTER MOTEUR
- KICK SELECTION
- BOITE DE VITESSE
- CARBURATEUR
- MX-125 2008
- GUIDON
- FREIN AV
- FOURCHE OLHINS ROUE AV
- FOURCHE PAIOLI ROUE AV
- FOURCHE MARZOCCHI ROUE AV
- RADIATEURS
- RESERVOIR
- CHASSIS
- PLASTIQUES
- FILTRE A AIR
- BRAS OSCILLANT
- BIELLETTES
- ROUE AR
- FREIN AR
- ECHAPPEMENT
- CYLINDRE
- EMBIELLAGE
- ALLUMAGE
- EMBRAYAGE
- CARTER EMBRAYAGE
- COMMANDE VALVES
- CARTER MOTEUR
- KICK SELECTION
- BOITE DE VITESSE
- CARBURATEUR
- EN-144 2008
- GUIDON
- FREIN AV
- FOURCHE OLHINS ROUE AV
- FOURCHE PAIOLI ROUE AV
- FOURCHE MARZOCCHI ROUE AV
- RADIATEURS
- RESERVOIR
- CHASSIS
- PLASTIQUES
- FILTRE A AIR
- BRAS OSCILLANT
- BIELLETTES
- ROUE AR
- FREIN AR
- ECHAPPEMENT
- COMPTEUR
- CYLINDRE
- EMBIELLAGE
- ALLUMAGE
- EMBRAYAGE
- CARTER EMBRAYAGE
- COMMANDE VALVES
- CARTER MOTEUR
- KICK SELECTION
- BOITE DE VITESSE
- CARBURATEUR
- MX-144 2008
- GUIDON
- FREIN AV
- FOURCHE OLHINS ROUE AV
- FOURCHE PAIOLI ROUE AV
- FOURCHE MARZOCCHI ROUE AV
- RADIATEURS
- RESERVOIR
- CHASSIS
- PLASTIQUES
- FILTRE A AIR
- BRAS OSCILLANT
- BIELLETTES
- ROUE AR
- FREIN AR
- ECHAPPEMENT
- CYLINDRE
- EMBIELLAGE
- ALLUMAGE
- EMBRAYAGE
- CARTER EMBRAYAGE
- COMMANDE VALVES
- CARTER MOTEUR
- KICK SELECTION
- BOITE DE VITESSE
- CARBURATEUR
- EN-250-2T 2008
- MX-250-2T 2008
- EN-300-2T 2008
- MX-300-2T 2008
- TM-CORSE 2008
- EN-125 2008
- TM Racing 2025
- Accessoires
- Entretien
- Outillage
- Tenues et Sportswear
- Moto
- Pièce d'origine
Affichage 1-28 de 28 article(s)
Filtres actifs
check_circle
check_circle
