Nouvelle TM 2026 disponible chez OHMECA !
Vous pouvez consulter tous les produits disponibles et en acheter dans la boutique.
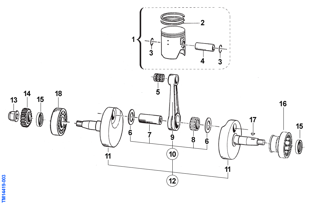
EMBIELLAGE144 AGRANDIR L'IMAGE CLIQUEZ ICI
Il y a 20 produits.
Filtres actifs
check_circle