Accueil

Accueil

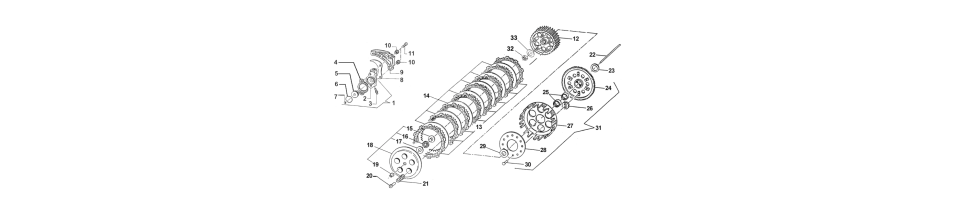
EMBRAYAGEMX-85 2018

EMBRAYAGE

Filtres actifs